专利数据库
统计分析
产业报告
专利数据监控
产业人才
行业动态
产业政策法规
维权援助
个人中心
详情
文本
图像
标题
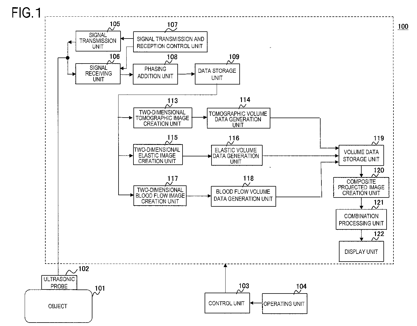
Ultrasonic diagnosis device and ultrasonic image display method
授权日
1900-01-01
公开(公告)号
EP2535003A1
申请日
2011-02-03
公开(公告)日
2012-12-19
当前申请(专利权)人
HITACHI, LTD.
发明人
TSUJITA,TAKEHIRO
简单同族
CN102753103A | CN102753103B | EP2535003A1 | EP2535003A4 | JP5774498B2 | JPWO2011099410A1 | JPWO2011099410A5 | US20120287156A1 | US8988462 | WO2011099410A1
简单同族成员数量
10
简单同族被引用专利总数
26
诉讼案件数
0
法律状态/事件
撤回 | 权利转移
抱歉,您的浏览器不支持PDF预览,请点击链接下载PDF文件