专利数据库
统计分析
产业报告
专利数据监控
产业人才
行业动态
产业政策法规
维权援助
个人中心
详情
文本
图像
标题
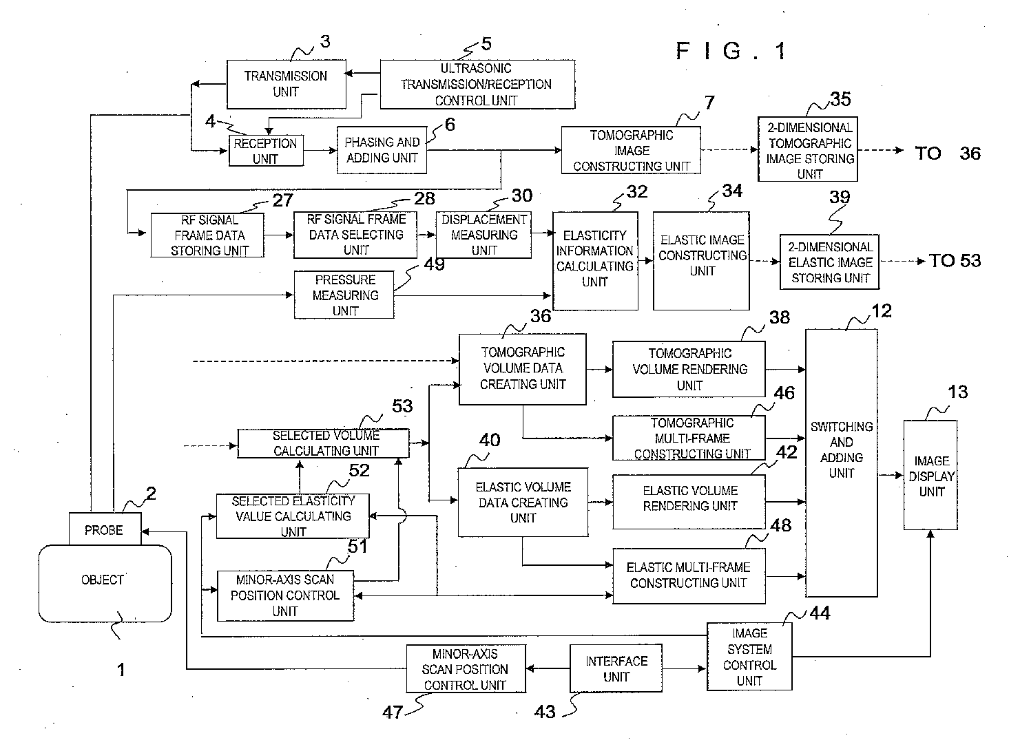
Ultrasound diagnostic device
授权日
1900-01-01
公开(公告)号
EP2599445A1
申请日
2011-07-20
公开(公告)日
2013-06-05
当前申请(专利权)人
HITACHI MEDICAL CORPORATION
发明人
INOUE,SHINSUKE | HAYASHI,TETSUYA
简单同族
CN102933155A | CN102933155B | EP2599445A1 | JP5770189B2 | JPWO2012014739A1 | JPWO2012014739A5 | US20130114371A1 | US9101289 | WO2012014739A1
简单同族成员数量
9
简单同族被引用专利总数
25
诉讼案件数
0
法律状态/事件
撤回
抱歉,您的浏览器不支持PDF预览,请点击链接下载PDF文件