专利数据库
统计分析
产业报告
专利数据监控
产业人才
行业动态
产业政策法规
维权援助
个人中心
详情
文本
图像
标题
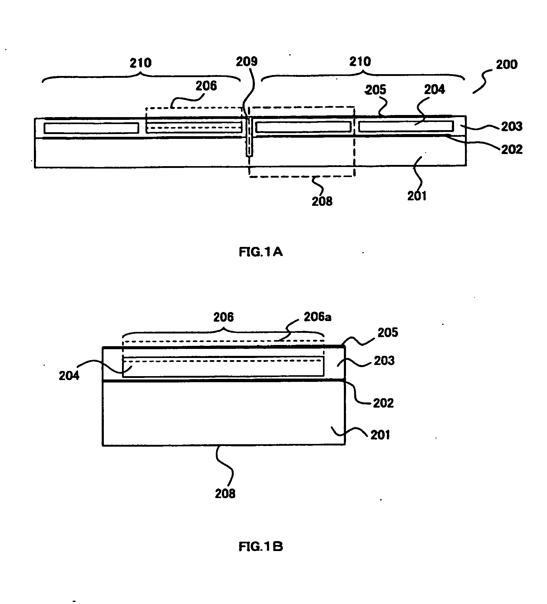
Ultrasonic vibrator and body cavity ultrasonograph having the ultrasonic vibrator
授权日
2011-10-26
公开(公告)号
EP1992290B1
申请日
2007-02-07
公开(公告)日
2011-10-26
当前申请(专利权)人
OLYMPUS MEDICAL SYSTEMS CORP.
发明人
ADACHI, HIDEO | WAKABAYASHI, KATSUHIRO | MIZUNUMA, AKIKO | SAWADA, YUKIHIKO | IMAHASHI, TAKUYA | FUJIMURA, TAKANAO | DOH, KI
简单同族
EP1992290A1 | EP1992290A4 | EP1992290B1 | JP2007229327A | JP2007229327A5 | JP4804961B2 | US20090076393A1 | WO2007099696A1
简单同族成员数量
8
简单同族被引用专利总数
53
诉讼案件数
0
法律状态/事件
授权
抱歉,您的浏览器不支持PDF预览,请点击链接下载PDF文件