专利数据库
统计分析
产业报告
专利数据监控
产业人才
行业动态
产业政策法规
维权援助
个人中心
详情
文本
图像
标题
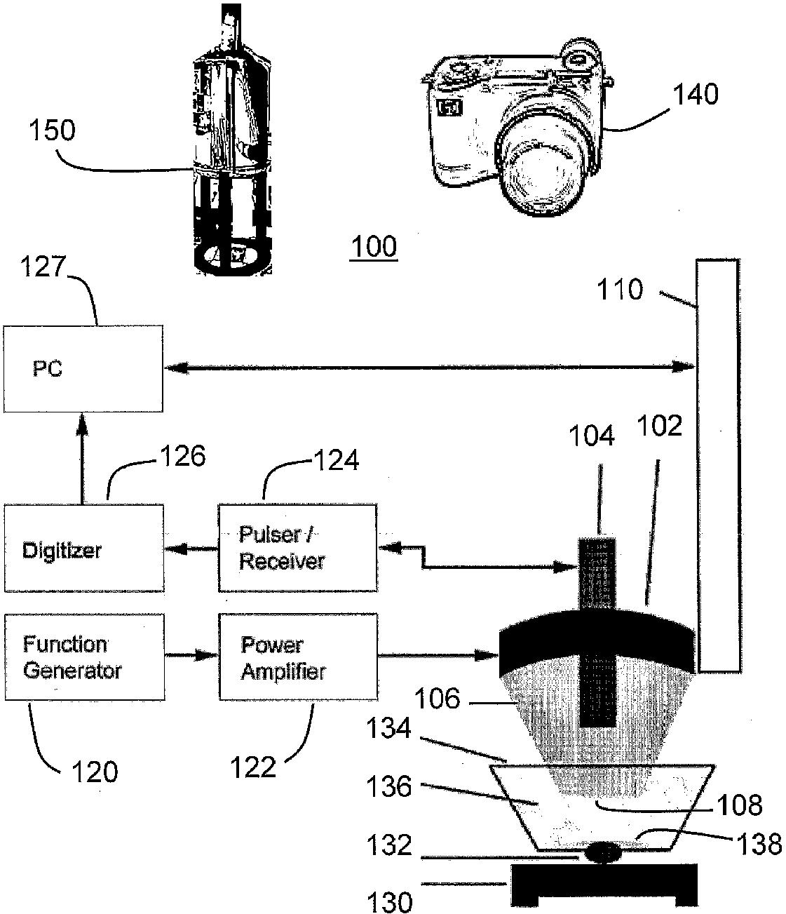
Systems and methods for opening of the blood-brain barrier of a subject using ultrasound
授权日
1900-01-01
公开(公告)号
EP1937151A4
申请日
2006-09-19
公开(公告)日
2011-07-06
当前申请(专利权)人
THE TRUSTEES OF COLUMBIA UNIVERSITY IN THE CITY OF NEW YORK
发明人
KONOFAGOU, ELISA, E. | CHOI, JAMES, J. | PERNOT, MATHIEU | SMALL, SCOTT, A.
简单同族
EP1937151A2 | EP1937151A4 | US20090005711A1 | WO2007035721A2 | WO2007035721A3
简单同族成员数量
5
简单同族被引用专利总数
42
诉讼案件数
0
法律状态/事件
撤回
抱歉,您的浏览器不支持PDF预览,请点击链接下载PDF文件