专利数据库
统计分析
产业报告
专利数据监控
产业人才
行业动态
产业政策法规
维权援助
个人中心
详情
文本
图像
标题
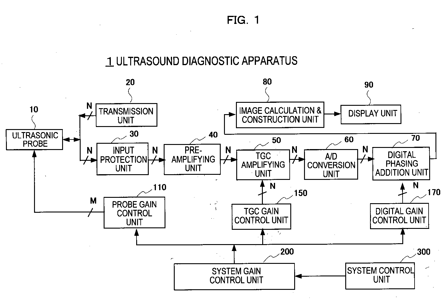
Ultrasonographic device
授权日
1900-01-01
公开(公告)号
EP1803401A1
申请日
2005-10-13
公开(公告)日
2007-07-04
当前申请(专利权)人
HITACHI MEDICAL CORPORATION
发明人
KANDA, HIROSHI | OSHIKI, MITSUHIRO | SHINOMURA, RYUICHI
简单同族
CN100496406C | CN101014289A | EP1803401A1 | EP1803401A4 | EP1803401B1 | JP5348844B2 | JPWO2006041114A1 | US20080015441A1 | US8333703 | WO2006041114A1
简单同族成员数量
10
简单同族被引用专利总数
33
诉讼案件数
0
法律状态/事件
权利终止 | 权利转移
抱歉,您的浏览器不支持PDF预览,请点击链接下载PDF文件