专利数据库
统计分析
产业报告
专利数据监控
产业人才
行业动态
产业政策法规
维权援助
个人中心
详情
文本
图像
标题
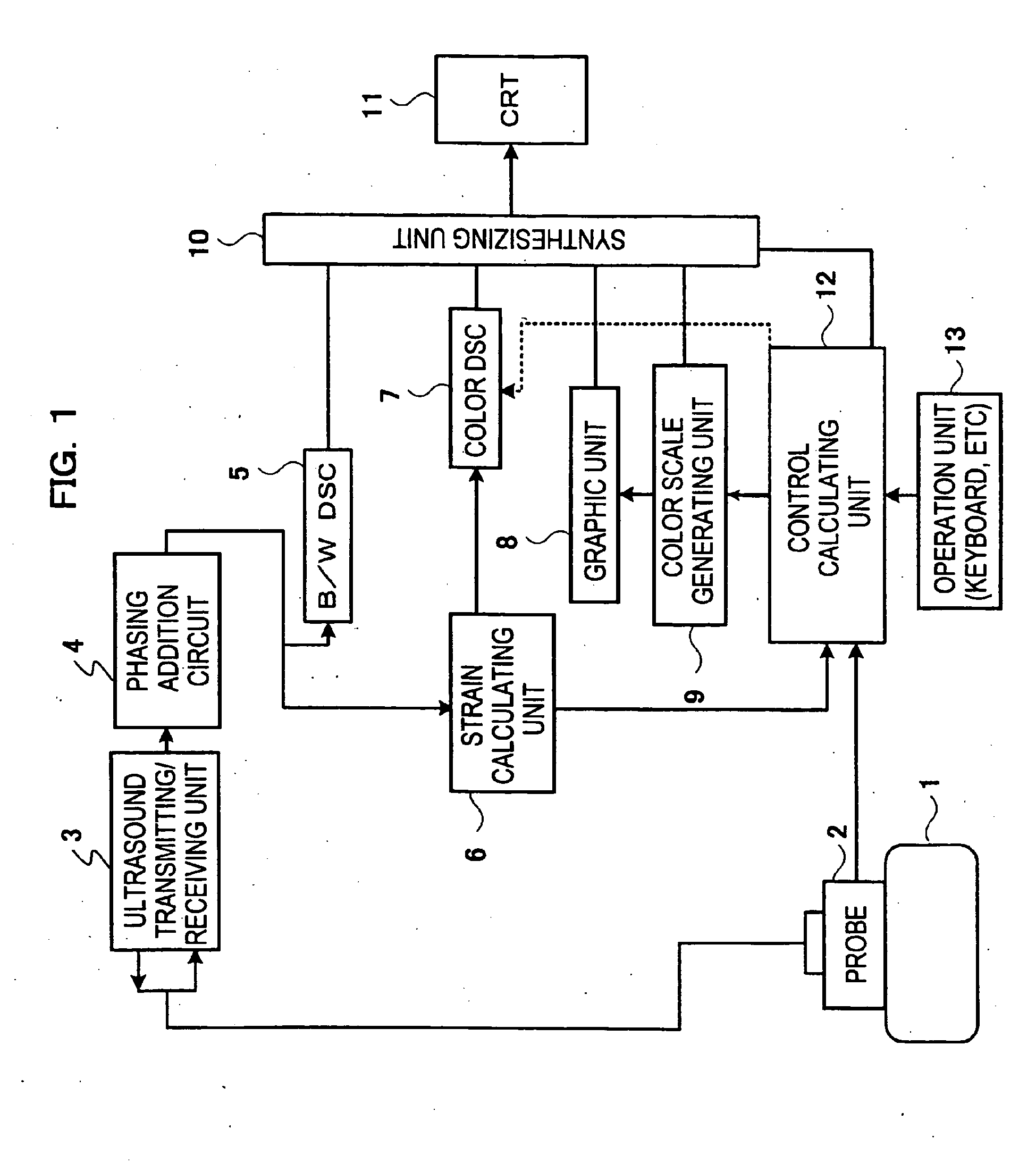
Ultrasonic diagnosis device
授权日
2009-09-09
公开(公告)号
EP1800604B1
申请日
2005-10-05
公开(公告)日
2009-09-09
当前申请(专利权)人
HITACHI MEDICAL CORPORATION
发明人
WAKI, KOJI C/O HITACHI MEDICAL CORPORATION
简单同族
CN100493461C | CN1993080A | DE602005016581D1 | EP1800604A1 | EP1800604A4 | EP1800604B1 | JP4897492B2 | JPWO2006040967A1 | US20070232916A1 | WO2006040967A1
简单同族成员数量
10
简单同族被引用专利总数
58
诉讼案件数
0
法律状态/事件
授权
抱歉,您的浏览器不支持PDF预览,请点击链接下载PDF文件