专利数据库
统计分析
产业报告
专利数据监控
产业人才
行业动态
产业政策法规
维权援助
个人中心
详情
文本
图像
标题
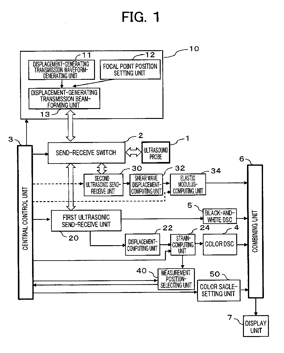
Ultrasound diagnostic apparatus and method
授权日
1900-01-01
公开(公告)号
EP2671511A1
申请日
2011-12-28
公开(公告)日
2013-12-11
当前申请(专利权)人
HITACHI, LTD.
发明人
TABARU, MARIE | AZUMA ,TAKASHI | YOSHIKAWA, HIDEKI | HASHIBA, KUNIO
简单同族
CN103347450A | CN103347450B | EP2671511A1 | EP2671511A4 | EP2671511B1 | JP5619191B2 | JPWO2012105152A1 | US20130317361A1 | WO2012105152A1
简单同族成员数量
9
简单同族被引用专利总数
45
诉讼案件数
0
法律状态/事件
授权 | 权利转移
抱歉,您的浏览器不支持PDF预览,请点击链接下载PDF文件