专利数据库
统计分析
产业报告
专利数据监控
产业人才
行业动态
产业政策法规
维权援助
个人中心
详情
文本
图像
标题
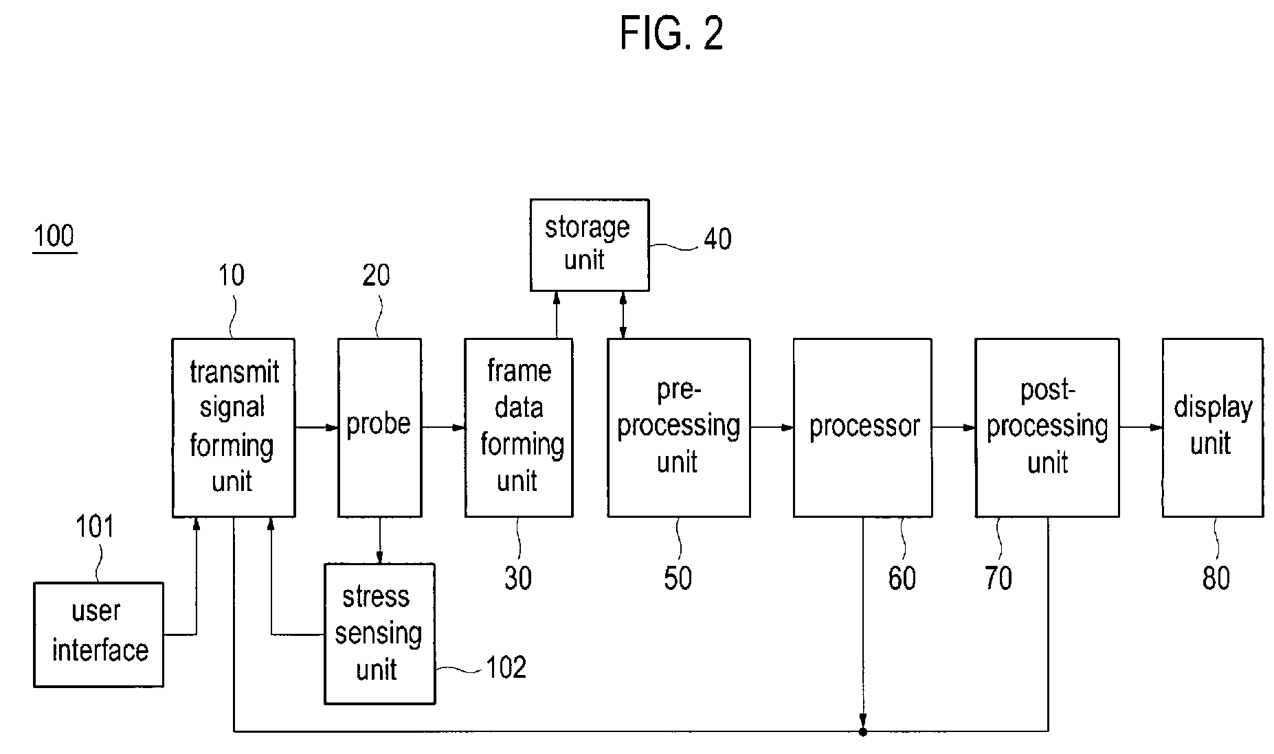
Ultrasound diagnostic system and method of forming elastic images
授权日
1900-01-01
公开(公告)号
EP1810620A1
申请日
2007-01-23
公开(公告)日
2007-07-25
当前申请(专利权)人
MEDISON CO., LTD.
发明人
JEONG, MOK KUN | KWON, SUNG JAE | YOON, RA YOUNG DISCUSSER & MEDISON BUILDING
简单同族
EP1810620A1 | JP2007195984A | KR100898946B1 | KR1020070077538A | US20070197915A1
简单同族成员数量
5
简单同族被引用专利总数
34
诉讼案件数
0
法律状态/事件
驳回
抱歉,您的浏览器不支持PDF预览,请点击链接下载PDF文件