专利数据库
统计分析
产业报告
专利数据监控
产业人才
行业动态
产业政策法规
维权援助
个人中心
详情
文本
图像
标题
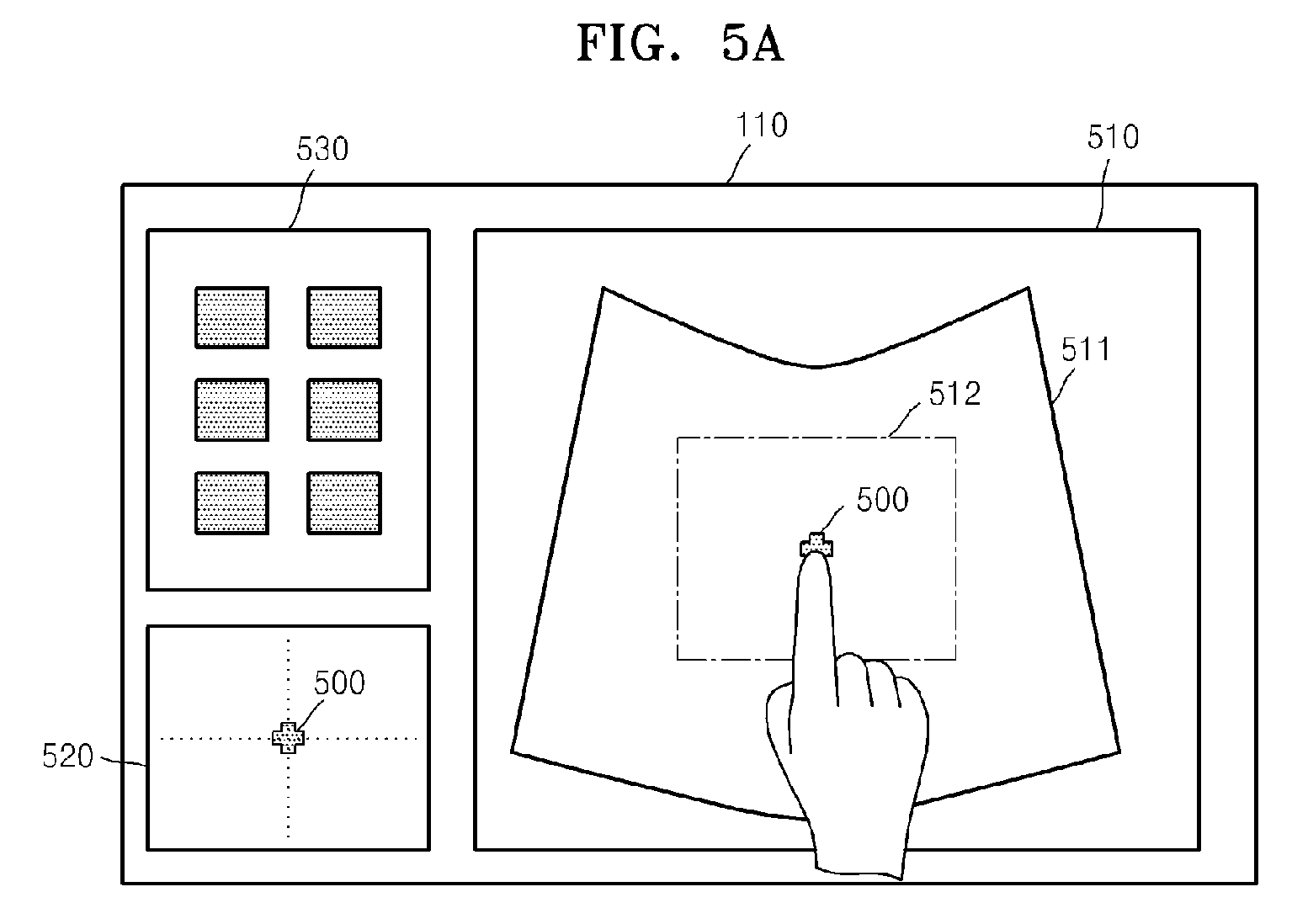
Method of providing copy image and ultrasound apparatus therefor
授权日
1900-01-01
公开(公告)号
EP2777506A1
申请日
2014-03-12
公开(公告)日
2014-09-17
当前申请(专利权)人
SAMSUNG ELECTRONICS CO., LTD.
发明人
LEE, JAE-HO | HONG, SOON-JAE | YUN, GI-HUN
简单同族
CN104042236A | CN104042236B | CN105243676A | EP2777506A1 | EP2777506B1 | EP2865339A1 | EP2865339B1 | EP2945122A1 | EP2945122B1 | EP3009986A1 | EP3009986B1 | EP3338640A1 | US10631825 | US20140276057A1 | US20150049039A1 | US20150141823A1 | US20150164474A1 | WO2014142468A1
简单同族成员数量
18
简单同族被引用专利总数
24
诉讼案件数
0
法律状态/事件
授权
抱歉,您的浏览器不支持PDF预览,请点击链接下载PDF文件