专利数据库
统计分析
产业报告
专利数据监控
产业人才
行业动态
产业政策法规
维权援助
个人中心
详情
文本
图像
标题
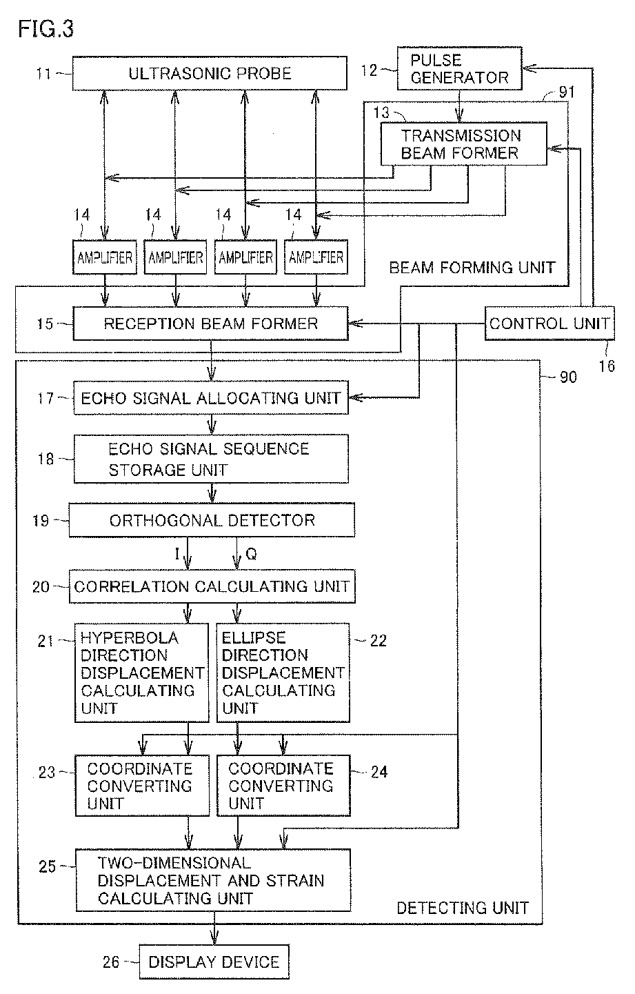
Ultrasonographic system and ultrasonographic device
授权日
1900-01-01
公开(公告)号
EP2356941A1
申请日
2009-11-06
公开(公告)日
2011-08-17
当前申请(专利权)人
CANON KABUSHIKI KAISHA
发明人
SHIINA, TSUYOSHI
简单同族
EP2356941A1 | EP2356941A4 | EP2356941B1 | JP5539218B2 | JPWO2010053156A1 | US20110270088A1 | US8696573 | WO2010053156A1
简单同族成员数量
8
简单同族被引用专利总数
40
诉讼案件数
0
法律状态/事件
授权 | 权利转移
抱歉,您的浏览器不支持PDF预览,请点击链接下载PDF文件