专利数据库
统计分析
产业报告
专利数据监控
产业人才
行业动态
产业政策法规
维权援助
个人中心
详情
文本
图像
标题
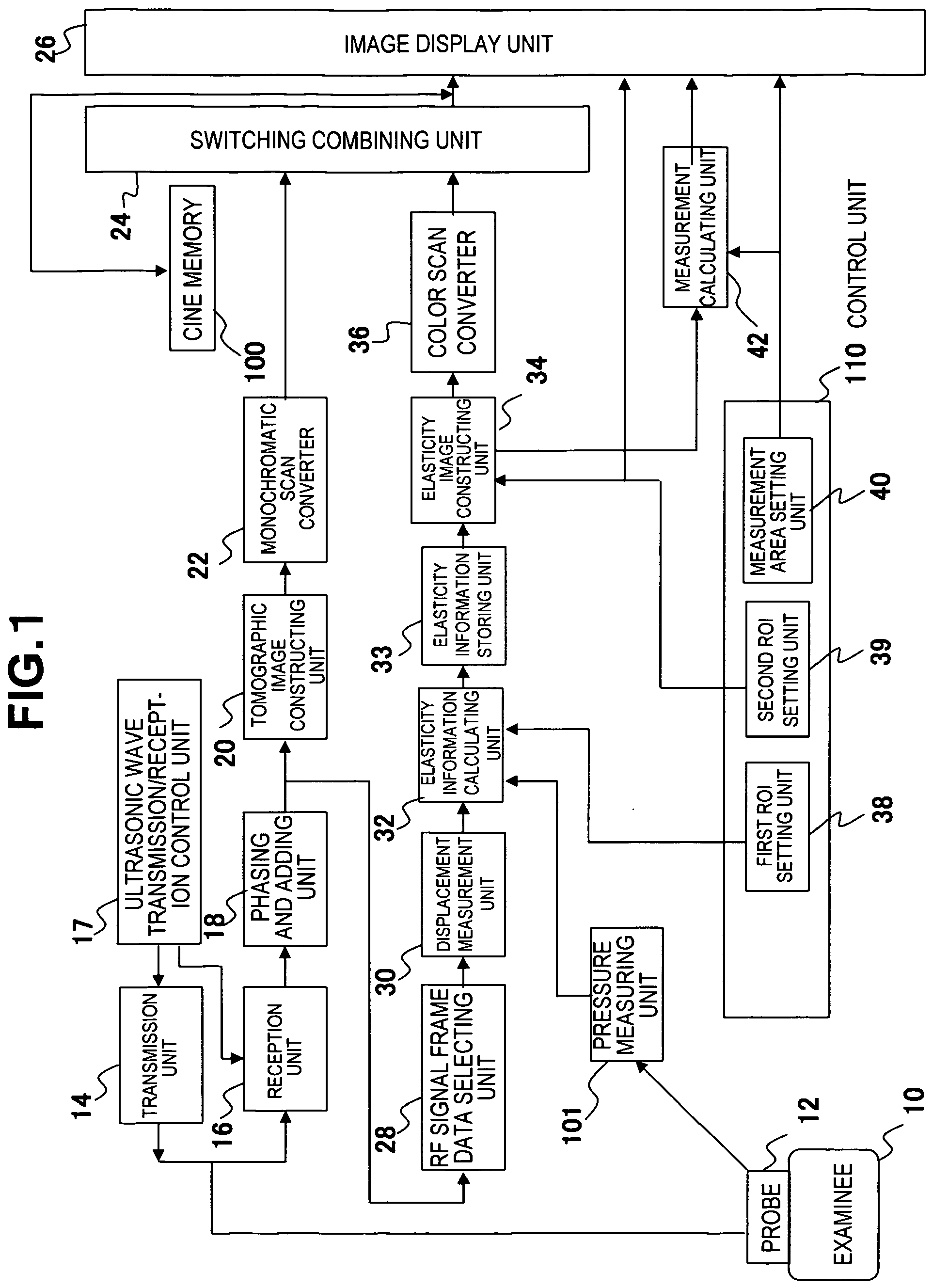
Ultrasonic diagnosing device
授权日
2017-01-25
公开(公告)号
EP2319417B1
申请日
2009-08-20
公开(公告)日
2017-01-25
当前申请(专利权)人
HITACHI, LTD.
发明人
IIMURA,TAKASHI | WAKI,KOJI
简单同族
CN102131465A | CN102131465B | EP2319417A1 | EP2319417A4 | EP2319417B1 | JP5465671B2 | JPWO2010024168A1 | US20110152687A1 | US8485976 | WO2010024168A1
简单同族成员数量
10
简单同族被引用专利总数
28
诉讼案件数
0
法律状态/事件
授权 | 权利转移
抱歉,您的浏览器不支持PDF预览,请点击链接下载PDF文件