专利数据库
统计分析
产业报告
专利数据监控
产业人才
行业动态
产业政策法规
维权援助
个人中心
详情
文本
图像
标题
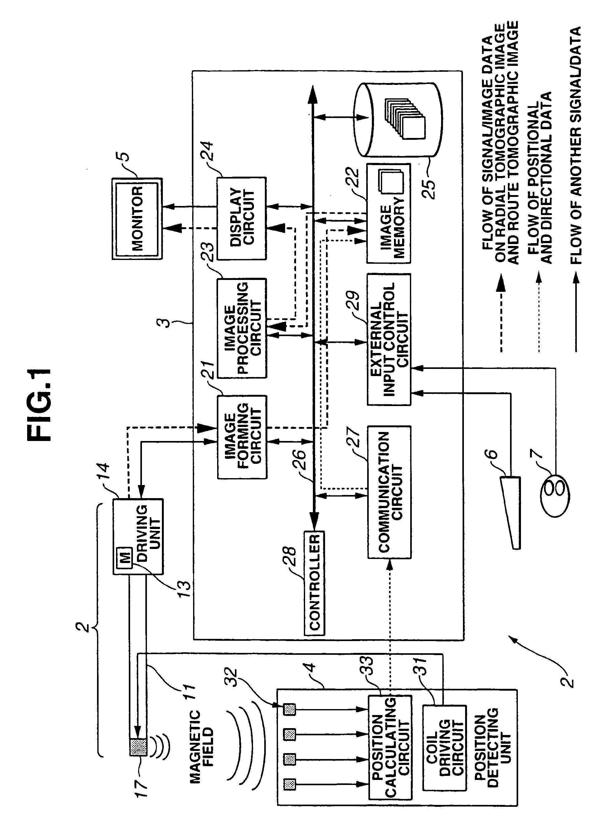
Ultrasonic diagnosing system
授权日
2011-04-27
公开(公告)号
EP1543775B1
申请日
2003-09-12
公开(公告)日
2011-04-27
当前申请(专利权)人
OLYMPUS CORPORATION
发明人
KAWASHIMA, TOMONAO
简单同族
AT506893T | DE60336915D1 | EP1543775A1 | EP1543775A4 | EP1543775B1 | JP2004113630A | JP4328077B2 | US20050228275A1 | US7488287 | WO2004028373A1
简单同族成员数量
10
简单同族被引用专利总数
36
诉讼案件数
0
法律状态/事件
权利终止
抱歉,您的浏览器不支持PDF预览,请点击链接下载PDF文件