专利数据库
统计分析
产业报告
专利数据监控
产业人才
行业动态
产业政策法规
维权援助
个人中心
详情
文本
图像
标题
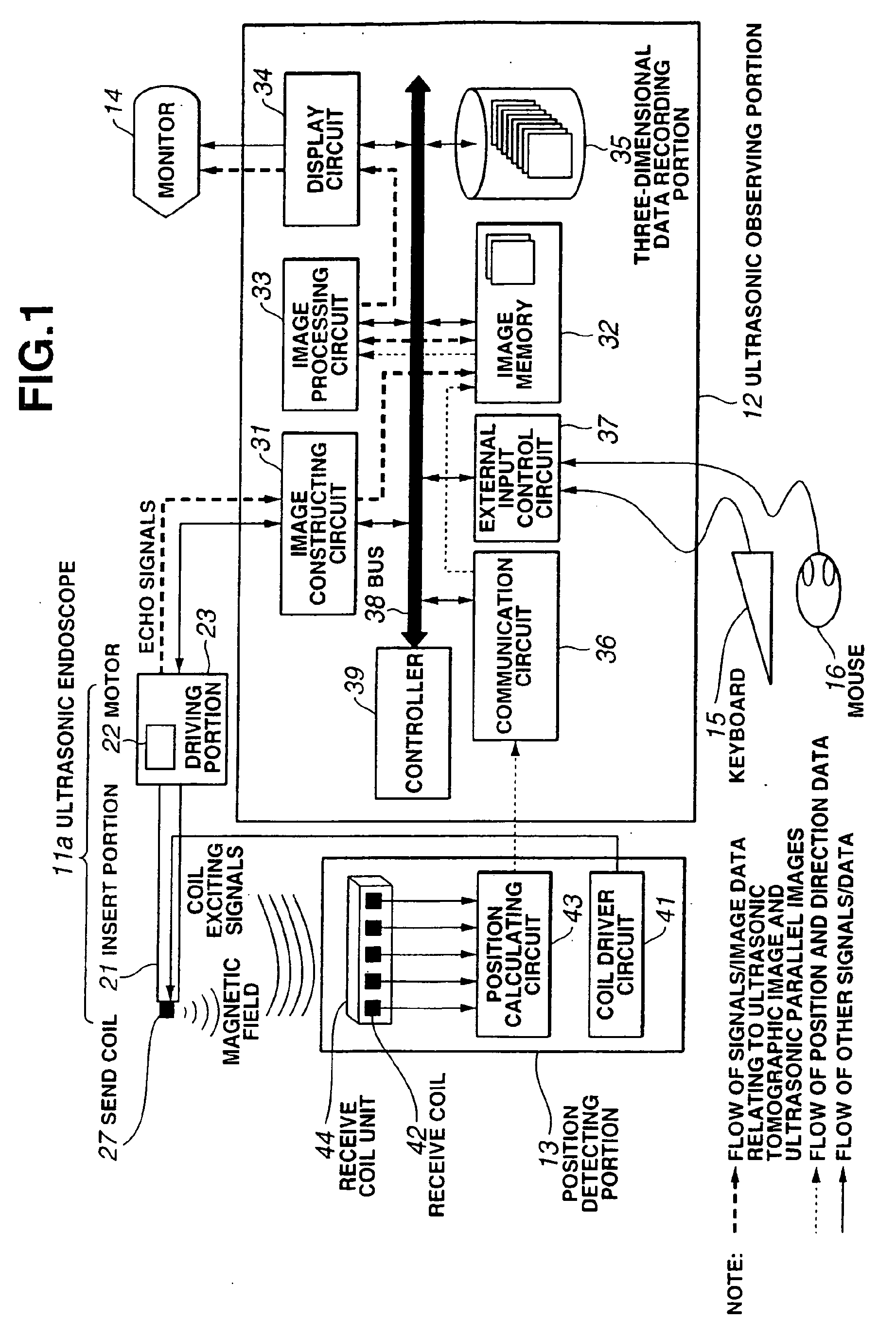
Ultrasonic diagnostic apparatus
授权日
2011-03-02
公开(公告)号
EP2042102B1
申请日
2003-09-18
公开(公告)日
2011-03-02
当前申请(专利权)人
OLYMPUS CORPORATION
发明人
KAWASHIMA, TOMONAO | KISHI, KENJI
简单同族
AT454092T | AT499880T | DE60330858D1 | DE60336281D1 | EP1504721A1 | EP1504721A4 | EP1504721B1 | EP2042102A1 | EP2042102B1 | US20050256402A1 | US7775977 | WO2004028375A1
简单同族成员数量
12
简单同族被引用专利总数
74
诉讼案件数
0
法律状态/事件
权利终止
抱歉,您的浏览器不支持PDF预览,请点击链接下载PDF文件