专利数据库
统计分析
产业报告
专利数据监控
产业人才
行业动态
产业政策法规
维权援助
个人中心
详情
文本
图像
标题
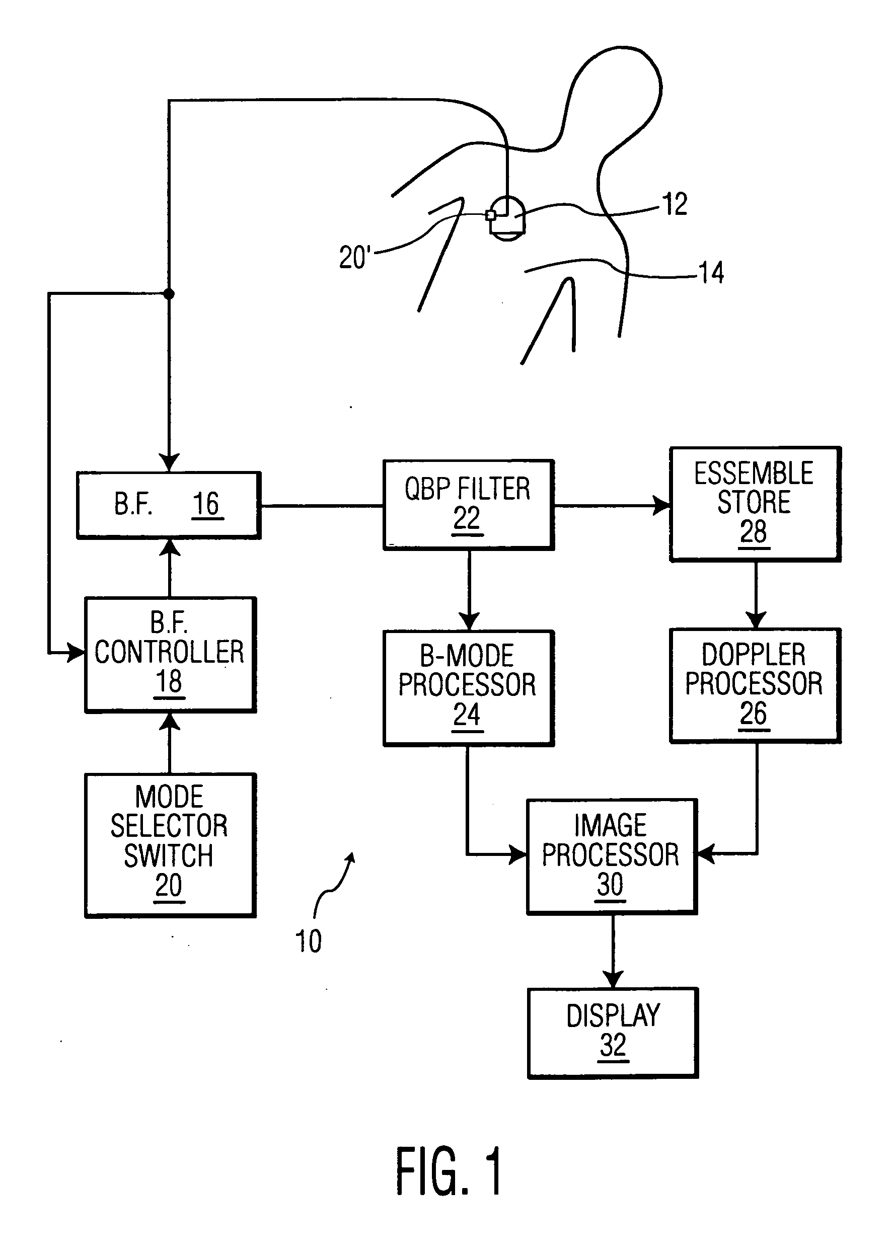
Dual mode ultrasound system
授权日
2012-03-14
公开(公告)号
EP2237070B1
申请日
2008-08-27
公开(公告)日
2012-03-14
当前申请(专利权)人
KONINKLIJKE PHILIPS ELECTRONICS N.V.
发明人
ADAMS, DARWIN
简单同族
AT549641T | CN101903796A | CN101903796B | EP2198322A2 | EP2237070A1 | EP2237070B1 | JP2010537700A | US20110046484A1 | US8551004 | WO2009031079A2 | WO2009031079A3
简单同族成员数量
11
简单同族被引用专利总数
22
诉讼案件数
0
法律状态/事件
授权
抱歉,您的浏览器不支持PDF预览,请点击链接下载PDF文件