专利数据库
统计分析
产业报告
专利数据监控
产业人才
行业动态
产业政策法规
维权援助
个人中心
详情
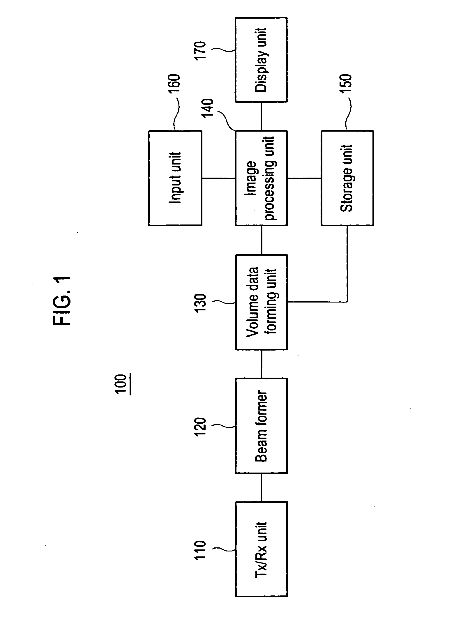
文本
图像
标题
Ultrasound system and method for forming an ultrasound image
授权日
2010-11-17
公开(公告)号
EP1973076B1
申请日
2008-03-19
公开(公告)日
2010-11-17
当前申请(专利权)人
MEDISON CO., LTD.
发明人
CHOI, YOUNG DO
简单同族
DE602008003467D1 | EP1973076A1 | EP1973076B1 | JP2008229342A | KR101028354B1 | KR1020080085420A | US20080234583A1 | US8083680
简单同族成员数量
8
简单同族被引用专利总数
33
诉讼案件数
0
法律状态/事件
授权
抱歉,您的浏览器不支持PDF预览,请点击链接下载PDF文件