专利数据库
统计分析
产业报告
专利数据监控
产业人才
行业动态
产业政策法规
维权援助
个人中心
详情
文本
图像
标题
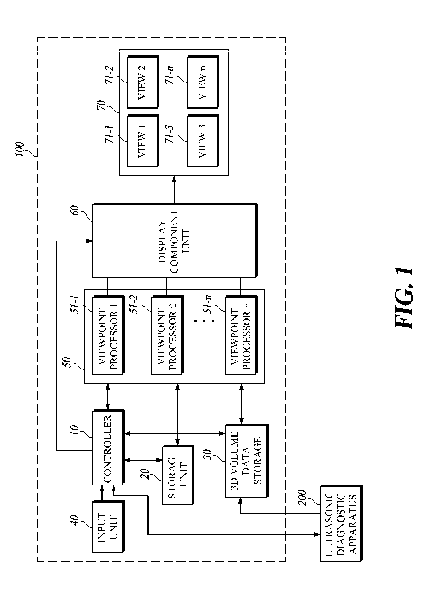
Apparatus and method for a real-time multi-view three-dimensional ultrasonic image user interface for ultrasonic diagnosis system
授权日
1900-01-01
公开(公告)号
EP2425782A2
申请日
2010-04-28
公开(公告)日
2012-03-07
当前申请(专利权)人
ALPINION MEDICAL SYSTEMS CO., LTD.
发明人
YOO, JINHO
简单同族
EP2425782A2 | KR101043331B1 | KR1020100119224A | US20120092334A1 | WO2010126307A2 | WO2010126307A3
简单同族成员数量
6
简单同族被引用专利总数
20
诉讼案件数
0
法律状态/事件
撤回
抱歉,您的浏览器不支持PDF预览,请点击链接下载PDF文件