专利数据库
统计分析
产业报告
专利数据监控
产业人才
行业动态
产业政策法规
维权援助
个人中心
详情
文本
图像
标题
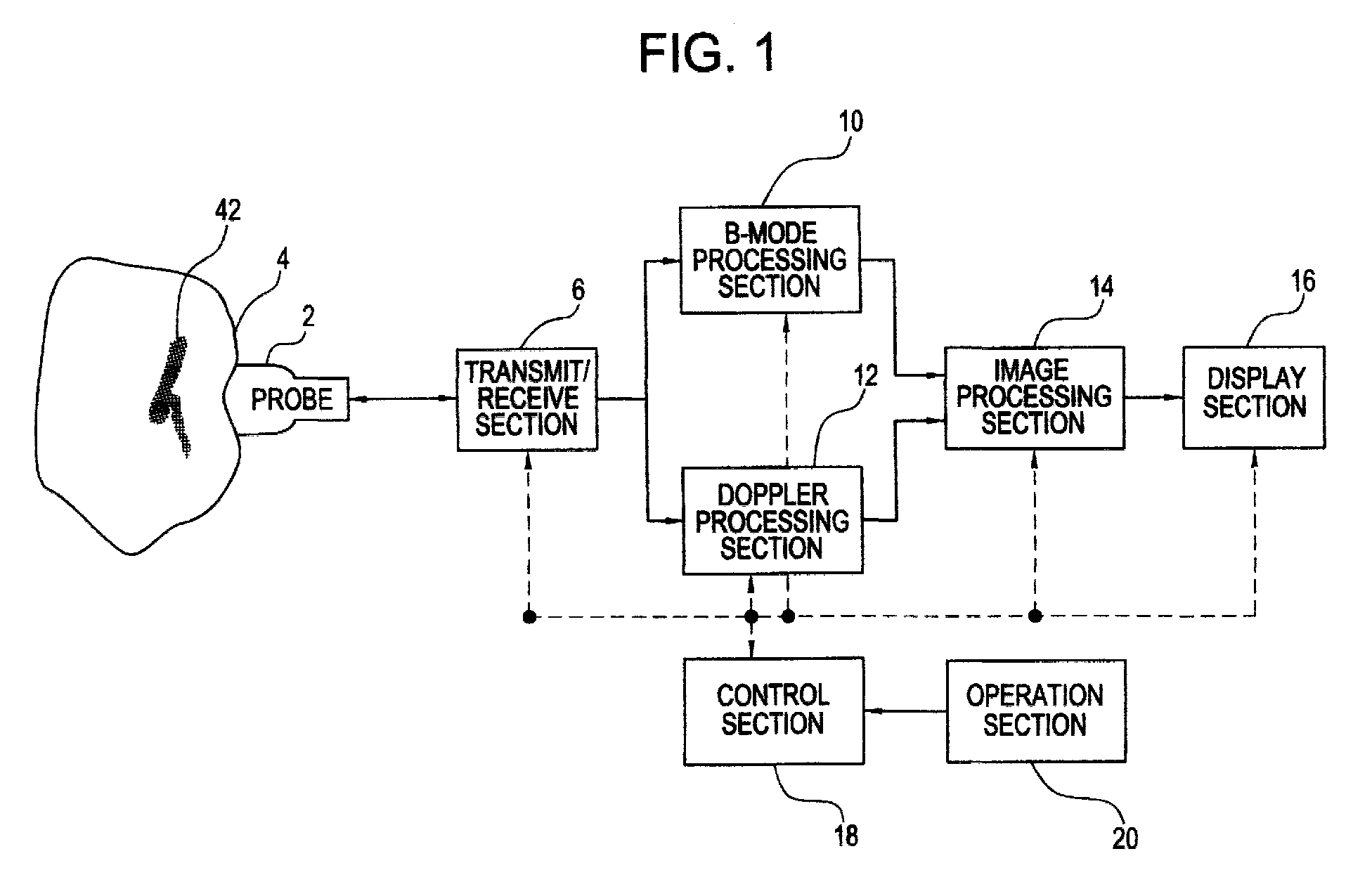
Image forming method and apparatus, and ultrasonic imaging apparatus
授权日
1900-01-01
公开(公告)号
EP1136841A2
申请日
2001-03-19
公开(公告)日
2001-09-26
当前申请(专利权)人
GE MEDICAL SYSTEMS GLOBAL TECHNOLOGY COMPANY LLC
发明人
SUZUKI, YOICHI
简单同族
CN1317293A | DE60140916D1 | EP1136841A2 | EP1136841A3 | EP1136841B1 | JP2001258886A | JP4117383B2 | KR1020010098417A | US20010025143A1 | US6485424
简单同族成员数量
10
简单同族被引用专利总数
26
诉讼案件数
0
法律状态/事件
权利终止
抱歉,您的浏览器不支持PDF预览,请点击链接下载PDF文件