专利数据库
统计分析
产业报告
专利数据监控
产业人才
行业动态
产业政策法规
维权援助
个人中心
详情
文本
图像
标题
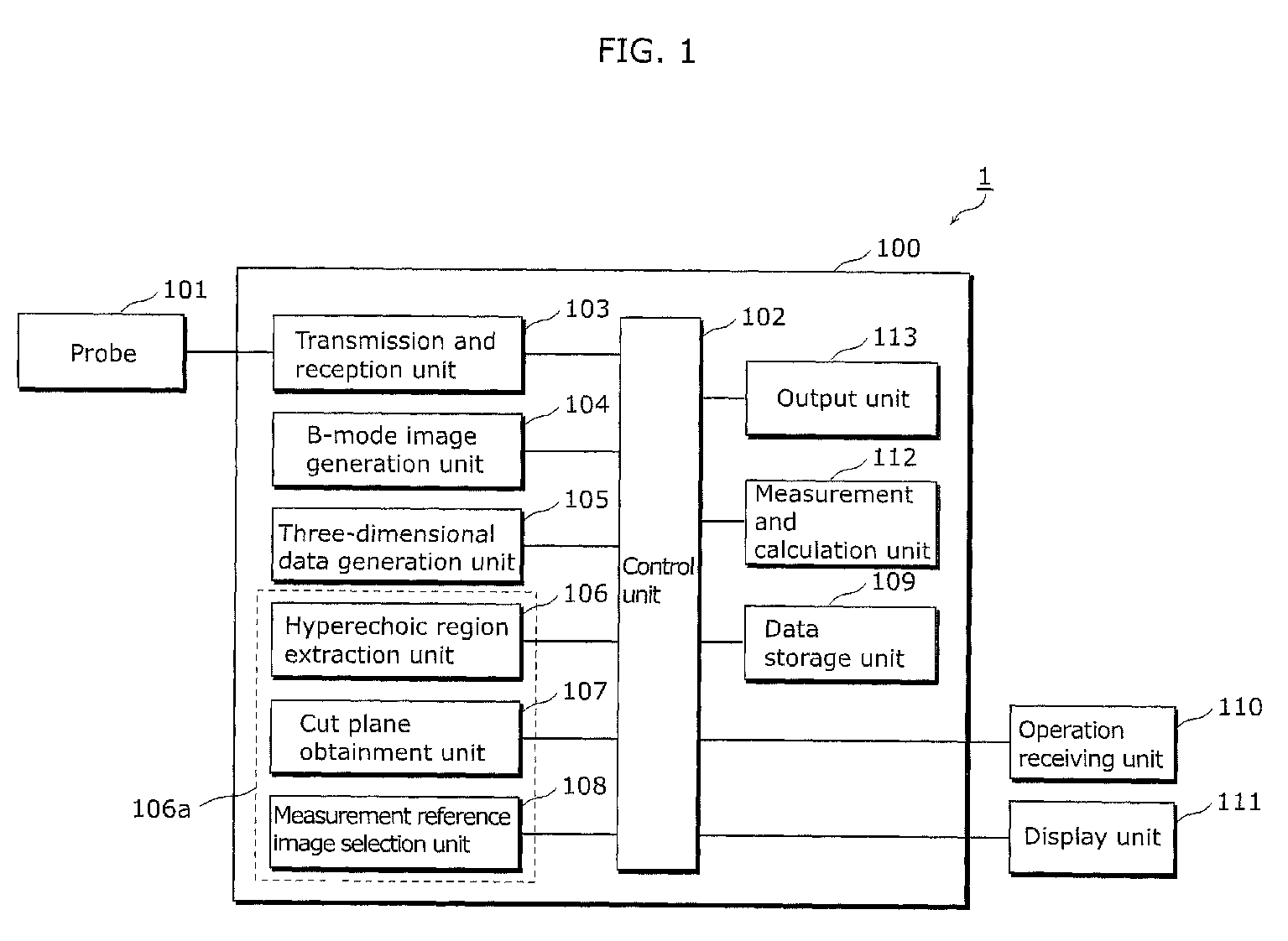
Ultrasound diagnostic equipment
授权日
1900-01-01
公开(公告)号
EP2623033A1
申请日
2011-09-26
公开(公告)日
2013-08-07
当前申请(专利权)人
KONICA MINOLTA, INC.
发明人
TOJI, BUNPEI
简单同族
CN102639063A | CN102639063B | EP2623033A1 | EP2623033A4 | EP2623033B1 | JP2015226836A | JP5794226B2 | JP6131990B2 | JPWO2012042808A1 | US20120232394A1 | WO2012042808A1
简单同族成员数量
11
简单同族被引用专利总数
33
诉讼案件数
0
法律状态/事件
授权 | 权利转移
抱歉,您的浏览器不支持PDF预览,请点击链接下载PDF文件