专利数据库
统计分析
产业报告
专利数据监控
产业人才
行业动态
产业政策法规
维权援助
个人中心
详情
文本
图像
标题
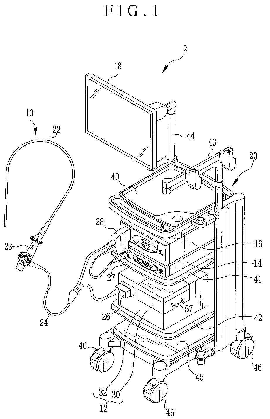
Adapter and ultrasonic diagnosis system
授权日
1900-01-01
公开(公告)号
EP2105094A2
申请日
2009-03-27
公开(公告)日
2009-09-30
当前申请(专利权)人
FUJIFILM CORPORATION
发明人
TANAKA, TOSHIZUMI
简单同族
EP2105094A2 | EP2105094A3 | EP2105094A8 | JP2009240437A | JP5198118B2 | US20090247877A1
简单同族成员数量
6
简单同族被引用专利总数
26
诉讼案件数
0
法律状态/事件
撤回
抱歉,您的浏览器不支持PDF预览,请点击链接下载PDF文件