专利数据库
统计分析
产业报告
专利数据监控
产业人才
行业动态
产业政策法规
维权援助
个人中心
详情
文本
图像
标题
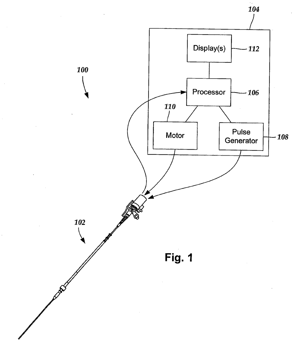
Intravascular ultrasound imaging systems with sealed catheters filled with an acoustically-favorable medium and methods of making
授权日
2018-05-30
公开(公告)号
EP2276409B1
申请日
2009-04-17
公开(公告)日
2018-05-30
当前申请(专利权)人
BOSTON SCIENTIFIC SCIMED, INC.
发明人
SADAKA, ALAIN
简单同族
CA2720123A1 | EP2276409A1 | EP2276409B1 | JP2011518002A | JP5587291B2 | US20090264769A1 | US9451929 | WO2009129438A1
简单同族成员数量
8
简单同族被引用专利总数
20
诉讼案件数
0
法律状态/事件
授权
抱歉,您的浏览器不支持PDF预览,请点击链接下载PDF文件