专利数据库
统计分析
产业报告
专利数据监控
产业人才
行业动态
产业政策法规
维权援助
个人中心
详情
文本
图像
标题
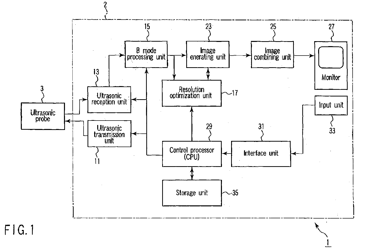
Ultrasonic imaging apparatus and ultrasonic velocity optimization method
授权日
1900-01-01
公开(公告)号
EP1974672A3
申请日
2008-03-26
公开(公告)日
2010-01-13
当前申请(专利权)人
TOSHIBA MEDICAL SYSTEMS CORPORATION | KABUSHIKI KAISHA TOSHIBA
发明人
KAKEE, AKIHIRO
简单同族
CN101273903A | CN103251429A | CN103251429B | EP1974672A2 | EP1974672A3 | EP1974672B1 | EP1974672B9 | JP2008264531A | JP2013106966A | JP2013106966A5 | JP5536984B2 | JP5597734B2 | US20080242999A1 | US8926512
简单同族成员数量
14
简单同族被引用专利总数
111
诉讼案件数
0
法律状态/事件
授权 | 权利转移
抱歉,您的浏览器不支持PDF预览,请点击链接下载PDF文件