专利数据库
统计分析
产业报告
专利数据监控
产业人才
行业动态
产业政策法规
维权援助
个人中心
详情
文本
图像
标题
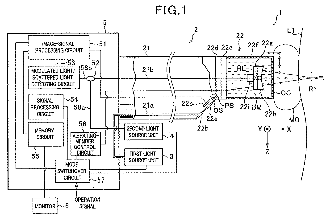
Medical apparatus obtaining information indicative of internal state of an object based on interaction between ultrasound waves and light
授权日
1900-01-01
公开(公告)号
EP1972263A3
申请日
2008-03-25
公开(公告)日
2009-07-08
当前申请(专利权)人
OLYMPUS MEDICAL SYSTEMS CORP.
发明人
IGARASHI, MAKOTO | GONO, KAZUHIRO
简单同族
CN101268952A | EP1972263A2 | EP1972263A3 | JP2008237235A | KR1020080086836A | US20090043156A1
简单同族成员数量
6
简单同族被引用专利总数
19
诉讼案件数
0
法律状态/事件
撤回
抱歉,您的浏览器不支持PDF预览,请点击链接下载PDF文件