专利数据库
统计分析
产业报告
专利数据监控
产业人才
行业动态
产业政策法规
维权援助
个人中心
详情
文本
图像
标题
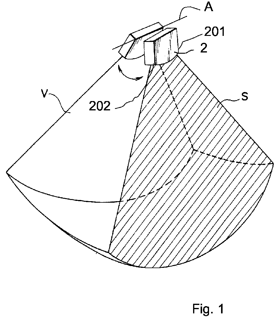
Ultrasonic imaging method and probe for 3D gynecologic inspection
授权日
1900-01-01
公开(公告)号
EP1681020A1
申请日
2005-01-18
公开(公告)日
2006-07-19
当前申请(专利权)人
ESAOTE S.P.A.
发明人
CEROFOLINI, MARINO
简单同族
AT397414T | DE602005007316D1 | EP1681020A1 | EP1681020B1 | US20060241452A1 | US8273026
简单同族成员数量
6
简单同族被引用专利总数
19
诉讼案件数
0
法律状态/事件
授权 | 权利转移
抱歉,您的浏览器不支持PDF预览,请点击链接下载PDF文件