专利数据库
统计分析
产业报告
专利数据监控
产业人才
行业动态
产业政策法规
维权援助
个人中心
详情
文本
图像
标题
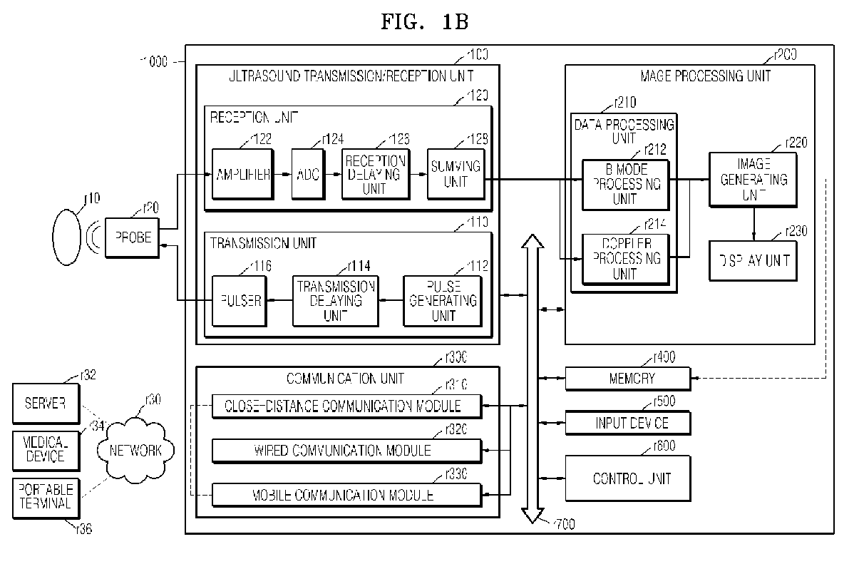
Ultrasound diagnosis device
授权日
1900-01-01
公开(公告)号
EP3628234A3
申请日
2014-06-27
公开(公告)日
2020-06-10
当前申请(专利权)人
SAMSUNG ELECTRONICS CO., LTD.
发明人
BAN, DAE-HYUN | KIM, SU-JIN | HAN, JEONG-HO
简单同族
EP2821013A1 | EP2821013B1 | EP2926738A1 | EP2926738B1 | EP3001953A2 | EP3001953A3 | EP3628234A2 | EP3628234A3 | KR1020150003560A | US10095400 | US10558350 | US20150089411A1 | US20150220259A1 | US20150301712A1 | US20180136811A1 | US9792033 | US9904455
简单同族成员数量
17
简单同族被引用专利总数
18
诉讼案件数
0
法律状态/事件
公开
抱歉,您的浏览器不支持PDF预览,请点击链接下载PDF文件