专利数据库
统计分析
产业报告
专利数据监控
产业人才
行业动态
产业政策法规
维权援助
个人中心
详情
文本
图像
标题
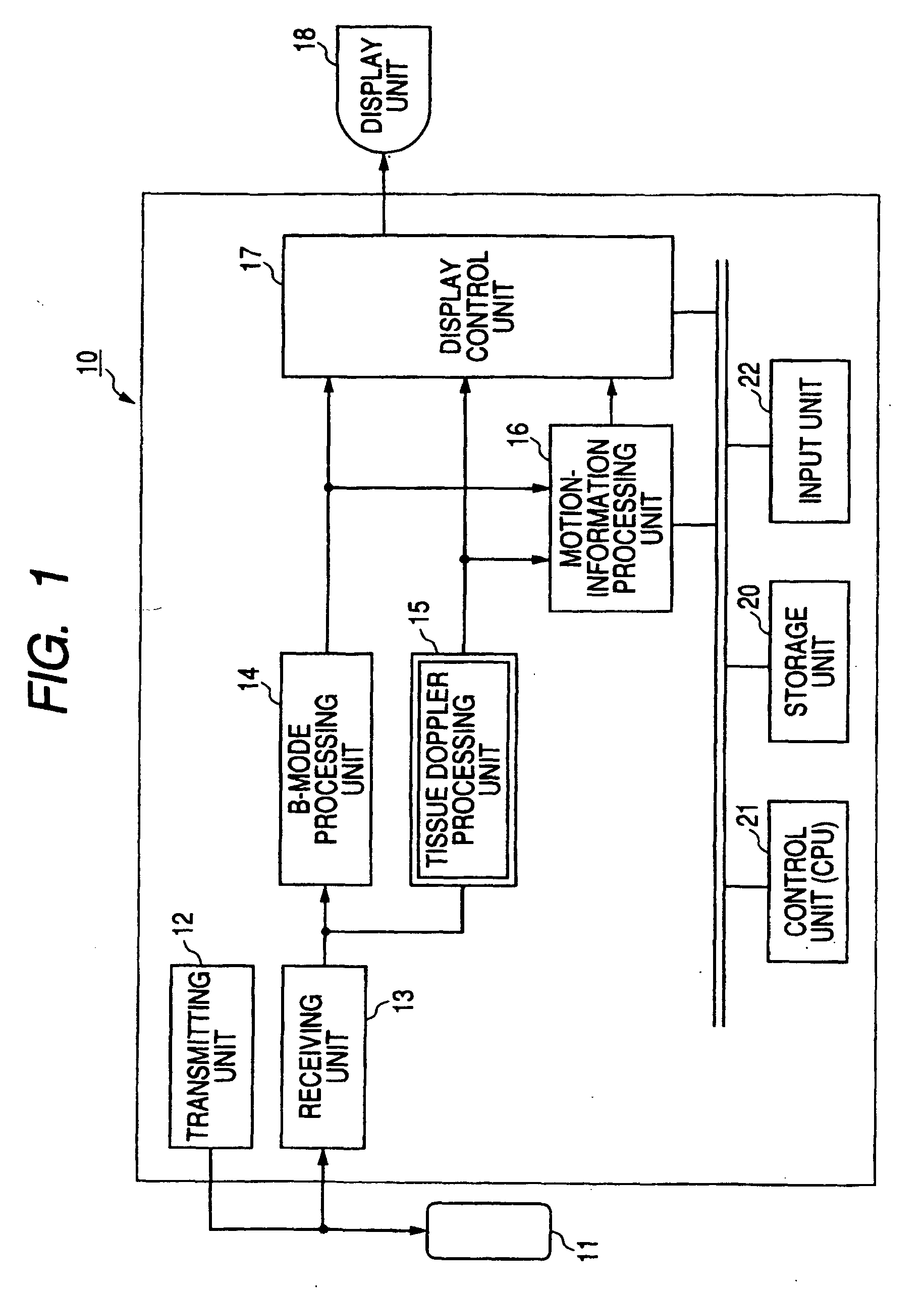
Ultrasonograph, ultrasonic image processing device, and ultrasonic image processing method
授权日
2013-03-27
公开(公告)号
EP1652477B1
申请日
2005-05-31
公开(公告)日
2013-03-27
当前申请(专利权)人
KABUSHIKI KAISHA TOSHIBA | TOSHIBA MEDICAL SYSTEMS CORPORATION
发明人
ABE, YASUHIKO C/O INTELL. PROP. DIV.
简单同族
CN102488533A | CN1819798A | EP1652477A1 | EP1652477A4 | EP1652477B1 | JP2005342006A | US20060122512A1 | US9797997 | WO2005115249A1
简单同族成员数量
9
简单同族被引用专利总数
53
诉讼案件数
0
法律状态/事件
授权
抱歉,您的浏览器不支持PDF预览,请点击链接下载PDF文件