专利数据库
统计分析
产业报告
专利数据监控
产业人才
行业动态
产业政策法规
维权援助
个人中心
详情
文本
图像
标题
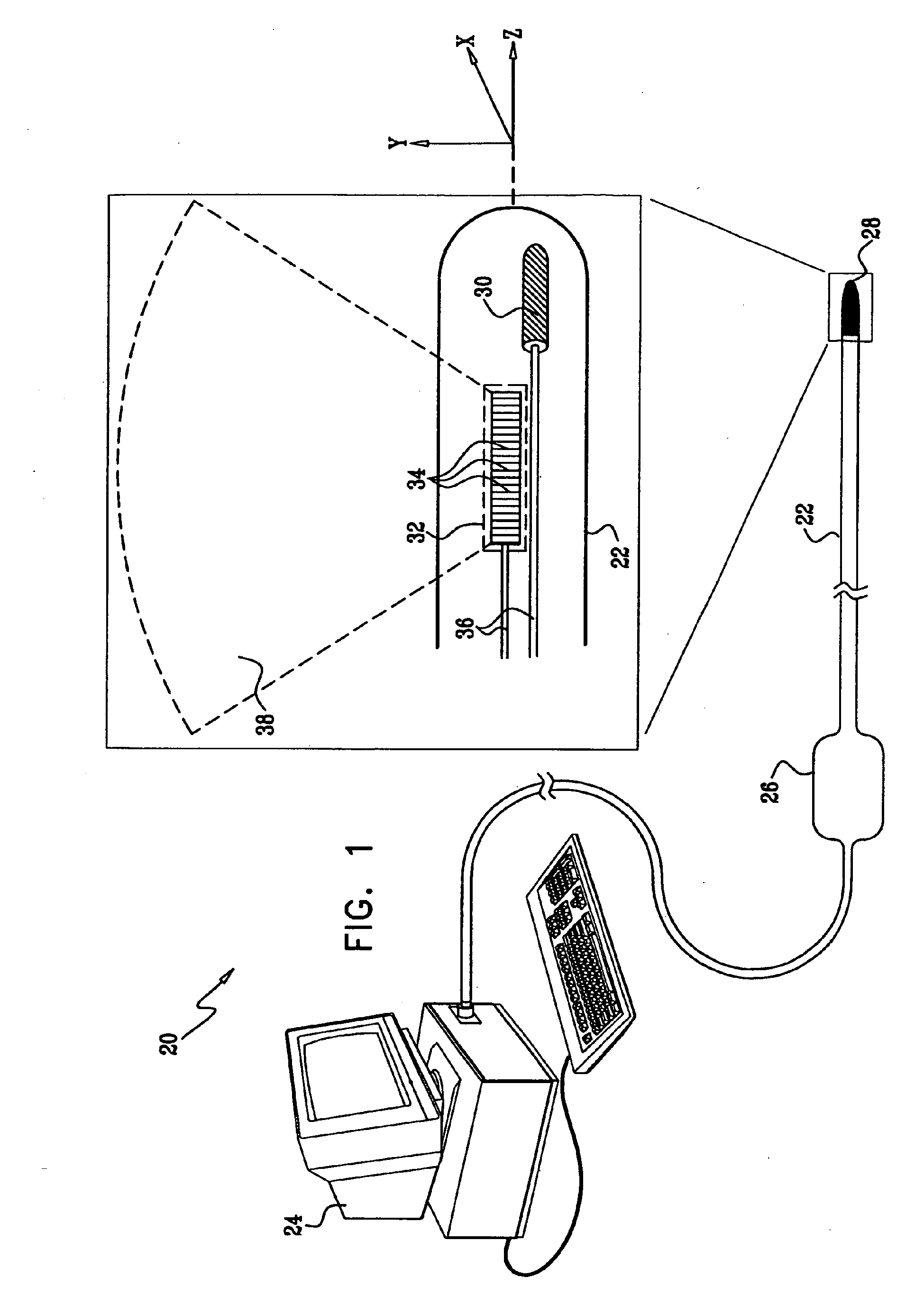
Apparatus and method for ultrasound catheter calibration
授权日
2008-09-24
公开(公告)号
EP1779786B1
申请日
2006-10-27
公开(公告)日
2008-09-24
当前申请(专利权)人
BIOSENSE WEBSTER, INC.
发明人
ALTMANN, ANDRES CLAUDIO | GOVARI, ASSAF
简单同族
AT409003T | AU2006233219A1 | AU2006233219B2 | BRPI0604375A2 | CA2565520A1 | CA2565520C | CN101004405A | CN101004405B | DE602006002857D1 | DK1779786T3 | EP1779786A1 | EP1779786B1 | ES2313580T3 | IL178912A | IL178912D0 | JP2007117747A | JP5188695B2 | KR1020070045919A | MXPA06012514A | PL1779786T3 | PT1779786E | US20070106156A1 | US7874987
简单同族成员数量
23
简单同族被引用专利总数
36
诉讼案件数
0
法律状态/事件
授权
抱歉,您的浏览器不支持PDF预览,请点击链接下载PDF文件