专利数据库
统计分析
产业报告
专利数据监控
产业人才
行业动态
产业政策法规
维权援助
个人中心
详情
文本
图像
标题
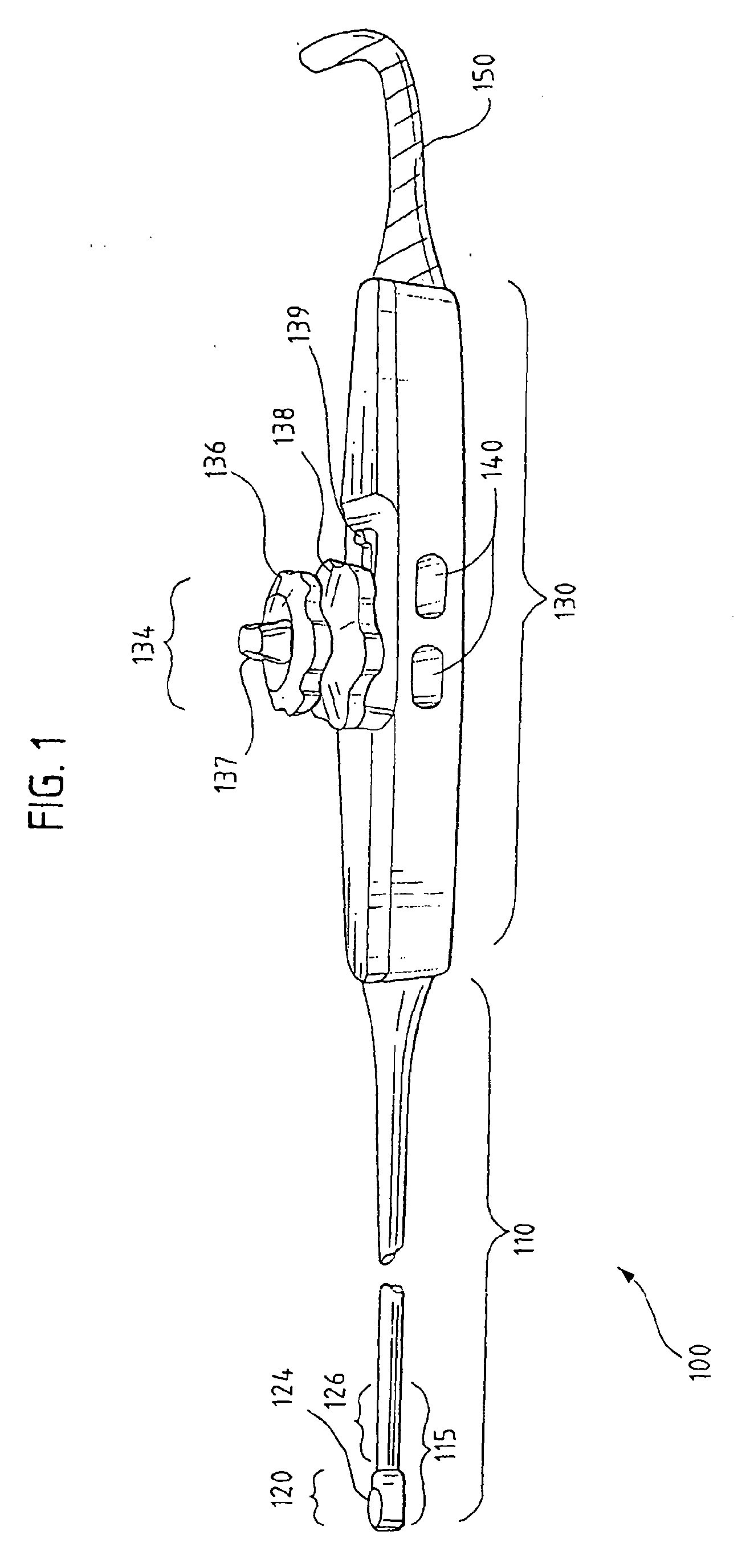
Transesophageal ultrasound probe with imaging element position sensor in scanhead
授权日
2008-05-28
公开(公告)号
EP1240869B1
申请日
2002-03-13
公开(公告)日
2008-05-28
当前申请(专利权)人
GE MEDICAL SYSTEMS GLOBAL TECHNOLOGY COMPANY LLC
发明人
JORDFALD, DAG | RONANDER, JON | PIEL, JOSEPH E. JR. | CHEN, JIAYU | SNYDER, JONATHAN E. | JONSBERG, KARL
简单同族
EP1240869A2 | EP1240869A3 | EP1240869B1 | JP2002330971A | JP2002330971A5 | JP4209124B2 | US20020133078A1 | US6478743
简单同族成员数量
8
简单同族被引用专利总数
28
诉讼案件数
0
法律状态/事件
权利终止
抱歉,您的浏览器不支持PDF预览,请点击链接下载PDF文件