专利数据库
统计分析
产业报告
专利数据监控
产业人才
行业动态
产业政策法规
维权援助
个人中心
详情
文本
图像
标题
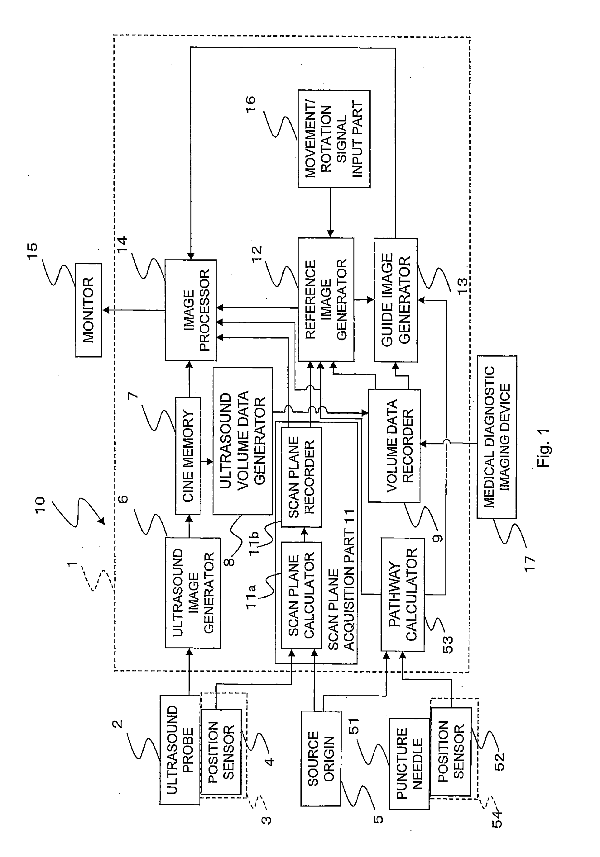
Ultrasound diagnostic device and ultrasound image display method
授权日
1900-01-01
公开(公告)号
EP2754396A1
申请日
2012-05-30
公开(公告)日
2014-07-16
当前申请(专利权)人
HITACHI, LTD.
发明人
KONDOU, MASANAO
简单同族
CN103781426A | CN103781426B | EP2754396A1 | EP2754396A4 | JP5775164B2 | JPWO2013035393A1 | JPWO2013035393A5 | US20140236001A1 | US9480457 | WO2013035393A1
简单同族成员数量
10
简单同族被引用专利总数
19
诉讼案件数
0
法律状态/事件
撤回 | 权利转移
抱歉,您的浏览器不支持PDF预览,请点击链接下载PDF文件