专利数据库
统计分析
产业报告
专利数据监控
产业人才
行业动态
产业政策法规
维权援助
个人中心
详情
文本
图像
标题
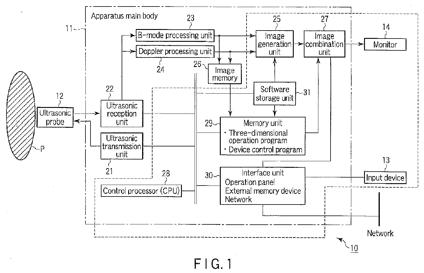
Ultrasonic diagnostic apparatus, ultrasonic image processing apparatus, and medical diagnostic imaging apparatus
授权日
1900-01-01
公开(公告)号
EP2371290A1
申请日
2011-03-29
公开(公告)日
2011-10-05
当前申请(专利权)人
TOSHIBA MEDICAL SYSTEMS CORPORATION
发明人
YOSHIDA, TETSUYA | KUGA, ITSUKI
简单同族
CN102247171A | CN102247171B | EP2371290A1 | EP2371290B1 | JP2011224354A | JP5762076B2 | US20110245675A1 | US9380999
简单同族成员数量
8
简单同族被引用专利总数
18
诉讼案件数
0
法律状态/事件
授权 | 权利转移
抱歉,您的浏览器不支持PDF预览,请点击链接下载PDF文件