专利数据库
统计分析
产业报告
专利数据监控
产业人才
行业动态
产业政策法规
维权援助
个人中心
详情
文本
图像
标题
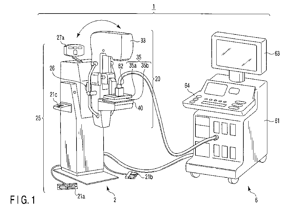
Ultrasonic diagnosis apparatus, breast imaging system, and breast imaging method
授权日
1900-01-01
公开(公告)号
EP1977692A3
申请日
2008-03-31
公开(公告)日
2008-12-10
当前申请(专利权)人
TOSHIBA MEDICAL SYSTEMS CORPORATION
发明人
OKAMURA, YOKO | KAMIYAMA, NAOHISA | SUGIYAMA, ATSUKO | YAMAGATA, HITOSHI | NISHIKI, MASAYUKI | KURATOMI, NAOKO | SEO, YASUTSUGU
简单同族
CN101278863A | CN101278863B | EP1977692A2 | EP1977692A3 | JP2008272459A | JP5481038B2 | US20080249415A1
简单同族成员数量
7
简单同族被引用专利总数
32
诉讼案件数
0
法律状态/事件
撤回 | 权利转移
抱歉,您的浏览器不支持PDF预览,请点击链接下载PDF文件