专利数据库
统计分析
产业报告
专利数据监控
产业人才
行业动态
产业政策法规
维权援助
个人中心
详情
文本
图像
标题
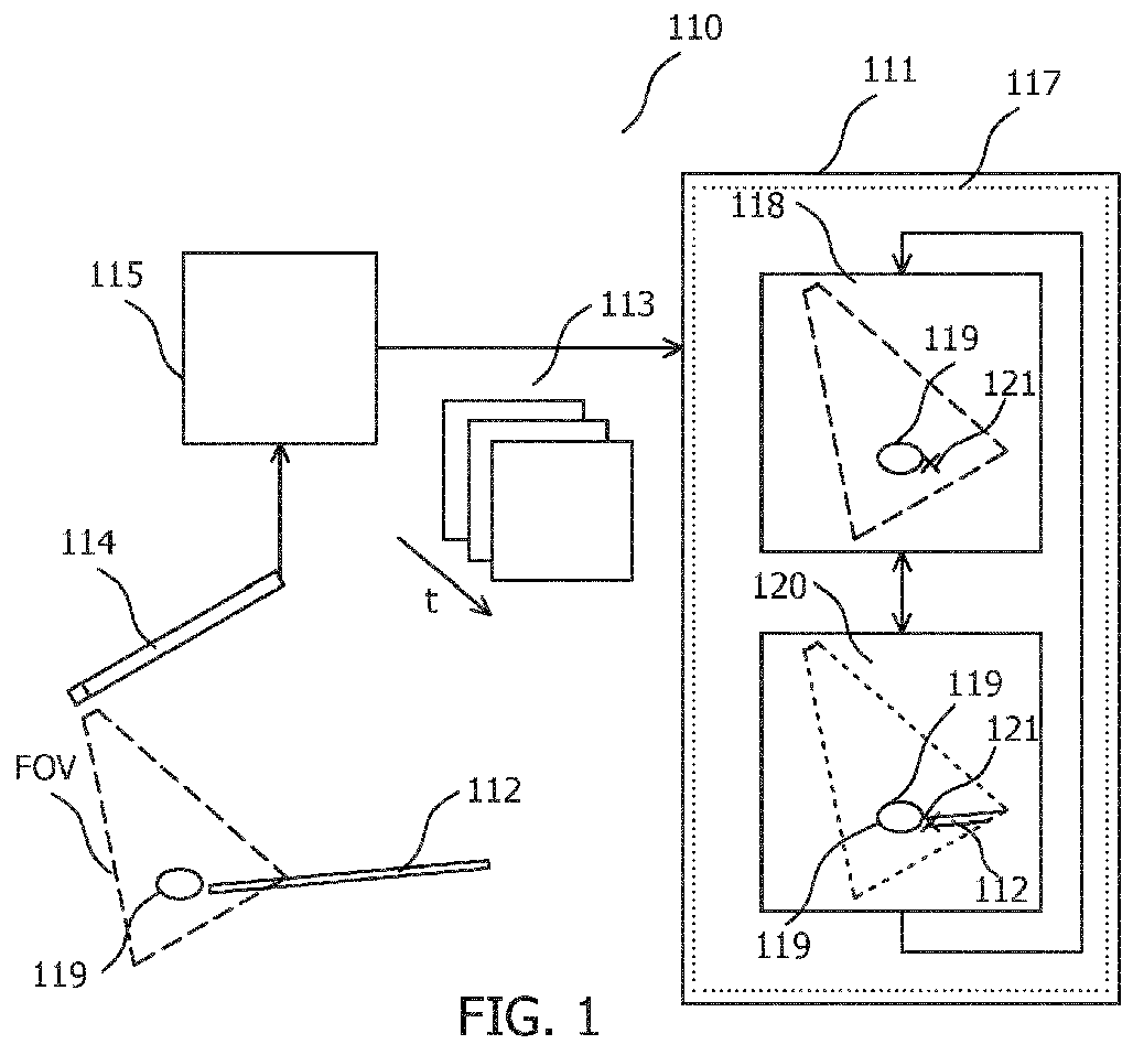
Ultrasound tracking and visualization
授权日
1900-01-01
公开(公告)号
EP3482690A1
申请日
2017-11-14
公开(公告)日
2019-05-15
当前申请(专利权)人
KONINKLIJKE PHILIPS N.V.
发明人
GIJSBERS, GERARDUS HENRICUS MARIA | KOLEN, ALEXANDER FRANCISCUS | BELT, HARM JAN WILLEM | HARKS, GODEFRIDUS ANTONIUS
简单同族
EP3482690A1 | WO2019096810A1
简单同族成员数量
2
简单同族被引用专利总数
0
诉讼案件数
0
法律状态/事件
撤回 | 权利转移
抱歉,您的浏览器不支持PDF预览,请点击链接下载PDF文件