专利数据库
统计分析
产业报告
专利数据监控
产业人才
行业动态
产业政策法规
维权援助
个人中心
详情
文本
图像
标题
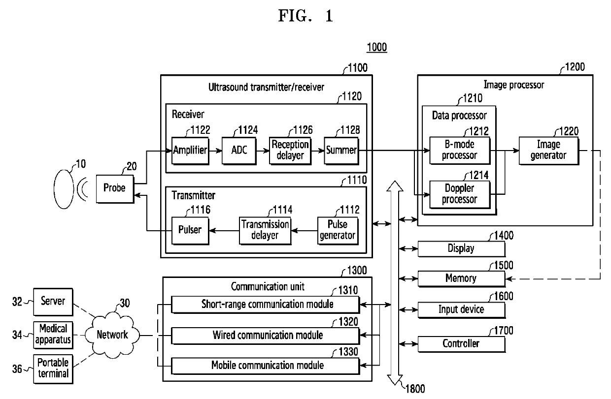
Ultrasound imaging apparatus and control method thereof
授权日
1900-01-01
公开(公告)号
EP3420913A1
申请日
2018-06-25
公开(公告)日
2019-01-02
当前申请(专利权)人
SAMSUNG MEDISON CO., LTD.
发明人
KIM, HYUNG-JOO | SEONG, YEONG-KYEONG
简单同族
EP3420913A1 | US20180368812A1
简单同族成员数量
2
简单同族被引用专利总数
0
诉讼案件数
0
法律状态/事件
公开
抱歉,您的浏览器不支持PDF预览,请点击链接下载PDF文件