专利数据库
统计分析
产业报告
专利数据监控
产业人才
行业动态
产业政策法规
维权援助
个人中心
详情
文本
图像
标题
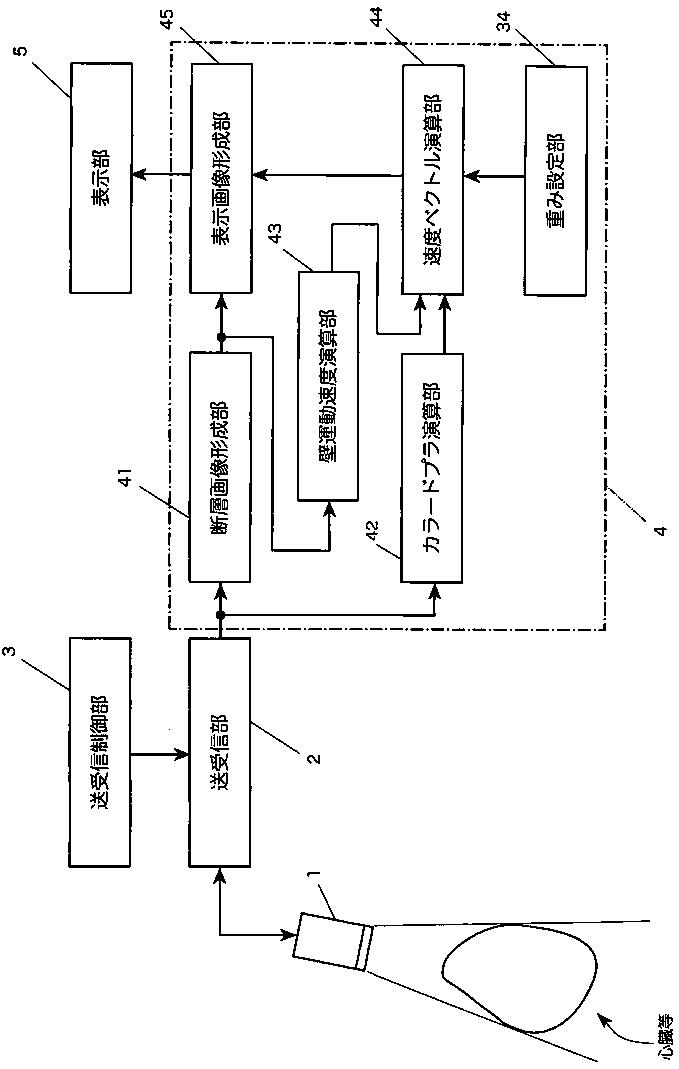
流体流速検出装置及びプログラム
授权日
1900-01-01
公开(公告)号
JP2013192643A
申请日
2012-03-16
公开(公告)日
2013-09-30
当前申请(专利权)人
国立大学法人 東京大学 | 日立アロカメディカル株式会社
发明人
小野 稔 | 板谷 慶一 | 岡田 孝
简单同族
CN104168835A | CN104168835B | EP2826425A1 | EP2826425A4 | EP2826425B1 | JP2013192643A | JP5497821B2 | US20150013471A1 | US9267828 | WO2013136573A1
简单同族成员数量
10
简单同族被引用专利总数
32
诉讼案件数
0
法律状态/事件
授权 | 权利转移
抱歉,您的浏览器不支持PDF预览,请点击链接下载PDF文件