专利数据库
统计分析
产业报告
专利数据监控
产业人才
行业动态
产业政策法规
维权援助
个人中心
详情
文本
图像
标题
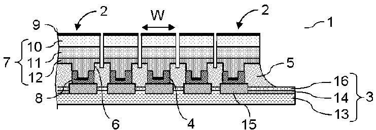
超音波トランスデューサとその製造方法
授权日
1900-01-01
公开(公告)号
JP2012024564A
申请日
2011-06-21
公开(公告)日
2012-02-09
当前申请(专利权)人
株式会社東芝
发明人
栂嵜 隆 | 宮城 武史 | 朝桐 智 | 小野 美智子
简单同族
JP2012024564A | JP2012024564A5 | JP5620345B2 | US20110316387A1 | US20140103782A1 | US8674587
简单同族成员数量
6
简单同族被引用专利总数
22
诉讼案件数
0
法律状态/事件
未缴年费
抱歉,您的浏览器不支持PDF预览,请点击链接下载PDF文件