专利数据库
统计分析
产业报告
专利数据监控
产业人才
行业动态
产业政策法规
维权援助
个人中心
详情
文本
图像
标题
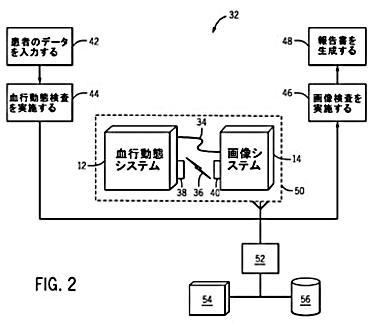
血行動態検査および画像検査を一体化するためのシステムおよび方法
授权日
1900-01-01
公开(公告)号
JP2010172704A
申请日
2010-01-29
公开(公告)日
2010-08-12
当前申请(专利权)人
ゼネラル·エレクトリック·カンパニイ
发明人
デボラ·アン·エヴェレット | ブルース·フリードマン | ポール·ローレンス·ミュレン | ウィリアム·アルフォンサス·ジャン
简单同族
CN101822536A | CN101822536B | EP2213225A1 | JP2010172704A | US20100198062A1 | US8137273
简单同族成员数量
6
简单同族被引用专利总数
18
诉讼案件数
0
法律状态/事件
驳回
抱歉,您的浏览器不支持PDF预览,请点击链接下载PDF文件