专利数据库
统计分析
产业报告
专利数据监控
产业人才
行业动态
产业政策法规
维权援助
个人中心
详情
文本
图像
标题
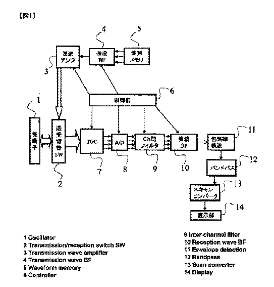
超音波撮像装置
授权日
1900-01-01
公开(公告)号
JPWO2012008573A1
申请日
2011-07-15
公开(公告)日
2013-09-09
当前申请(专利权)人
株式会社日立メディコ
发明人
東 隆
简单同族
JP5514911B2 | JPWO2012008573A1 | US20130109968A1 | WO2012008573A1
简单同族成员数量
4
简单同族被引用专利总数
22
诉讼案件数
0
法律状态/事件
未缴年费 | 权利转移
抱歉,您的浏览器不支持PDF预览,请点击链接下载PDF文件