专利数据库
统计分析
产业报告
专利数据监控
产业人才
行业动态
产业政策法规
维权援助
个人中心
详情
文本
图像
标题
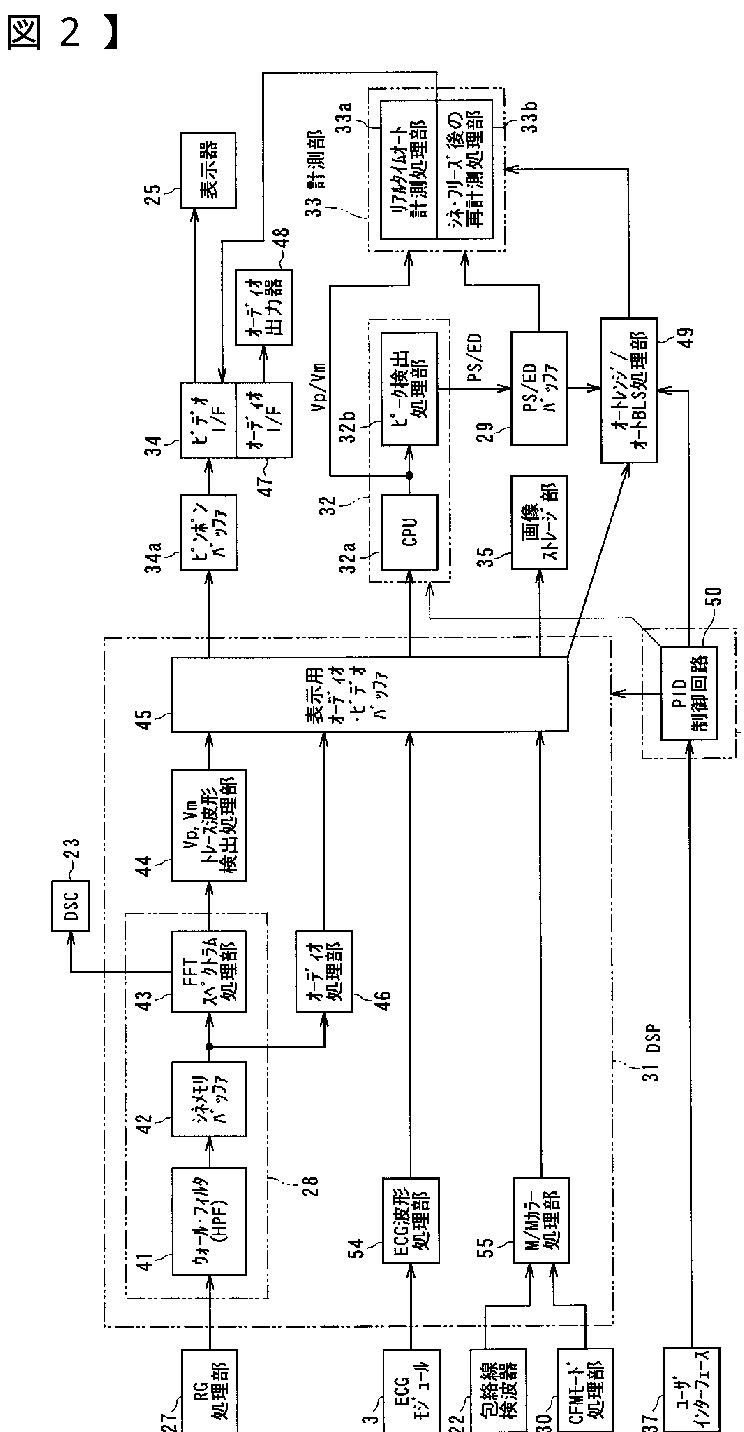
ドプラ超音波診断装置
授权日
2010-03-19
公开(公告)号
JP4476619B2
申请日
2003-12-26
公开(公告)日
2010-06-09
当前申请(专利权)人
株式会社東芝 | 東芝メディカルシステムズ株式会社
发明人
馬場 達朗 | 高橋 正美 | 貞光 和俊 | 宮島 泰夫
简单同族
JP2005185731A | JP4476619B2
简单同族成员数量
2
简单同族被引用专利总数
29
诉讼案件数
0
法律状态/事件
授权 | 权利转移
抱歉,您的浏览器不支持PDF预览,请点击链接下载PDF文件