专利数据库
统计分析
产业报告
专利数据监控
产业人才
行业动态
产业政策法规
维权援助
个人中心
详情
文本
图像
标题
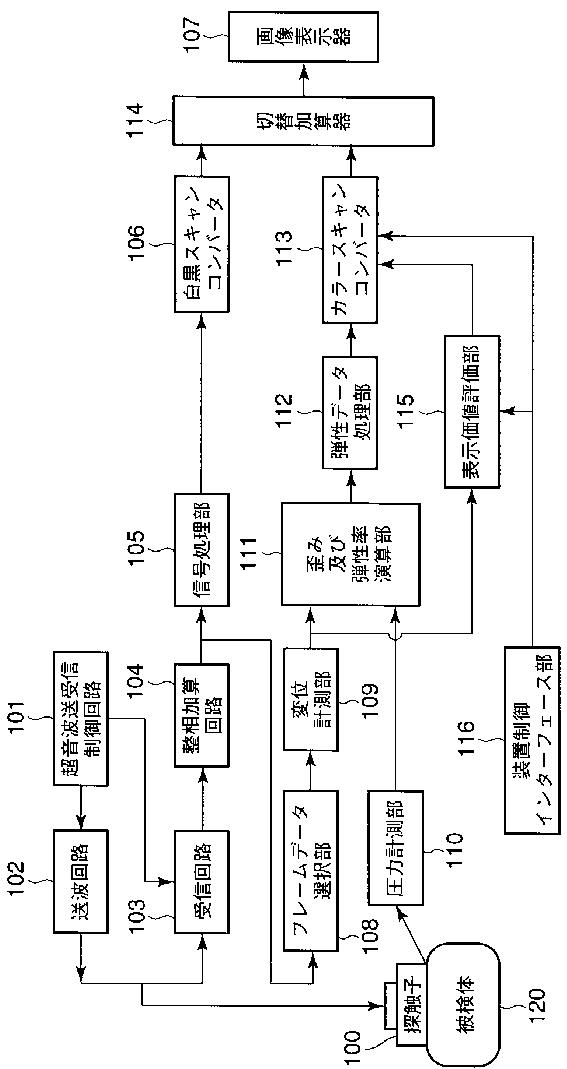
超音波診断装置及び画像処理装置
授权日
1900-01-01
公开(公告)号
JP2007105400A
申请日
2005-10-17
公开(公告)日
2007-04-26
当前申请(专利权)人
株式会社東芝 | 東芝メディカルシステムズ株式会社
发明人
岡村 陽子 | 西野 正敏 | 樋口 治郎 | 東 哲也
简单同族
CN100512762C | CN101044989A | EP1775602A1 | EP1775602B1 | JP2007105400A | JP2007105400A5 | US20070100237A1 | US7766832
简单同族成员数量
8
简单同族被引用专利总数
35
诉讼案件数
0
法律状态/事件
驳回
抱歉,您的浏览器不支持PDF预览,请点击链接下载PDF文件