专利数据库
统计分析
产业报告
专利数据监控
产业人才
行业动态
产业政策法规
维权援助
个人中心
详情
文本
图像
标题
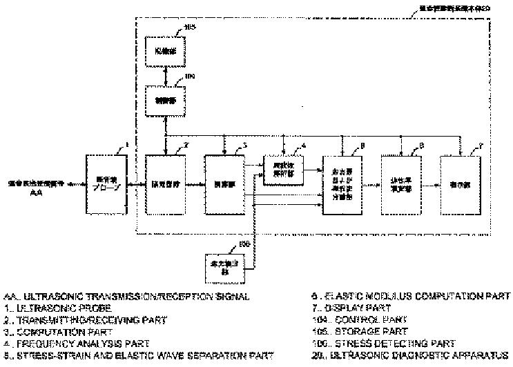
超音波診断装置
授权日
1900-01-01
公开(公告)号
JPWO2007063619A1
申请日
2006-06-15
公开(公告)日
2009-05-07
当前申请(专利权)人
パナソニック株式会社 | 国立大学法人東北大学
发明人
砂川 和宏 | 金井 浩
简单同族
JPWO2007063619A1 | US20090163805A1 | US8052602 | WO2007063619A1
简单同族成员数量
4
简单同族被引用专利总数
20
诉讼案件数
0
法律状态/事件
撤回
抱歉,您的浏览器不支持PDF预览,请点击链接下载PDF文件