专利数据库
统计分析
产业报告
专利数据监控
产业人才
行业动态
产业政策法规
维权援助
个人中心
详情
文本
图像
标题
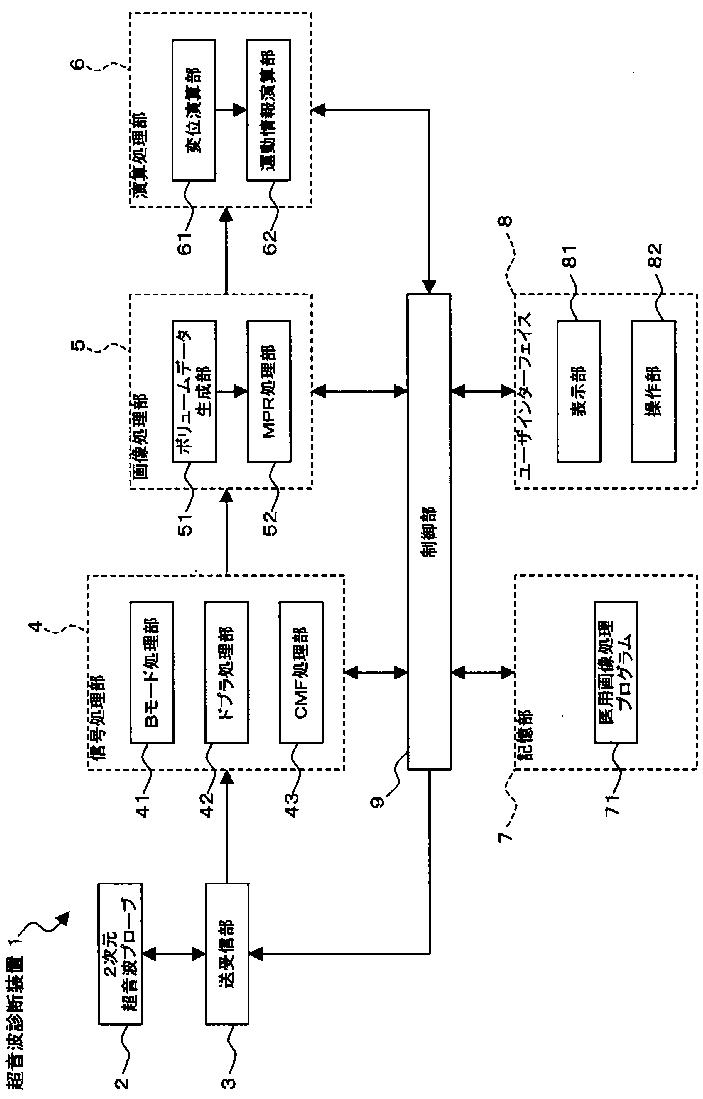
超音波診断装置、医用画像処理装置及び医用画像処理プログラム
授权日
1900-01-01
公开(公告)号
JP2007319190A
申请日
2006-05-30
公开(公告)日
2007-12-13
当前申请(专利权)人
株式会社東芝 | 東芝メディカルシステムズ株式会社
发明人
川岸 哲也 | 阿部 康彦
简单同族
CN101484074A | CN101484074B | EP2022404A1 | EP2022404A4 | EP2022404B1 | JP2007319190A | JP4745133B2 | US20090198133A1 | US8343052 | WO2007138751A1
简单同族成员数量
10
简单同族被引用专利总数
38
诉讼案件数
0
法律状态/事件
授权 | 权利转移
抱歉,您的浏览器不支持PDF预览,请点击链接下载PDF文件