专利数据库
统计分析
产业报告
专利数据监控
产业人才
行业动态
产业政策法规
维权援助
个人中心
详情
文本
图像
标题
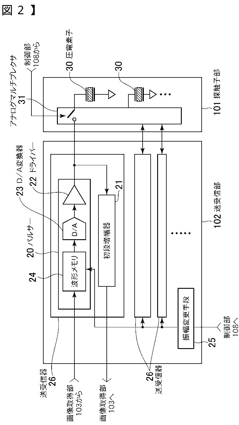
超音波撮像装置
授权日
2013-05-31
公开(公告)号
JP5280020B2
申请日
2007-06-26
公开(公告)日
2013-09-04
当前申请(专利权)人
ジーイー·メディカル·システムズ·グローバル·テクノロジー·カンパニー·エルエルシー
发明人
橋本 浩 | 加藤 生
简单同族
CN101332098A | CN101332098B | JP2009005755A | JP5280020B2 | US20090005683A1
简单同族成员数量
5
简单同族被引用专利总数
20
诉讼案件数
0
法律状态/事件
授权
抱歉,您的浏览器不支持PDF预览,请点击链接下载PDF文件