专利数据库
统计分析
产业报告
专利数据监控
产业人才
行业动态
产业政策法规
维权援助
个人中心
详情
文本
图像
标题
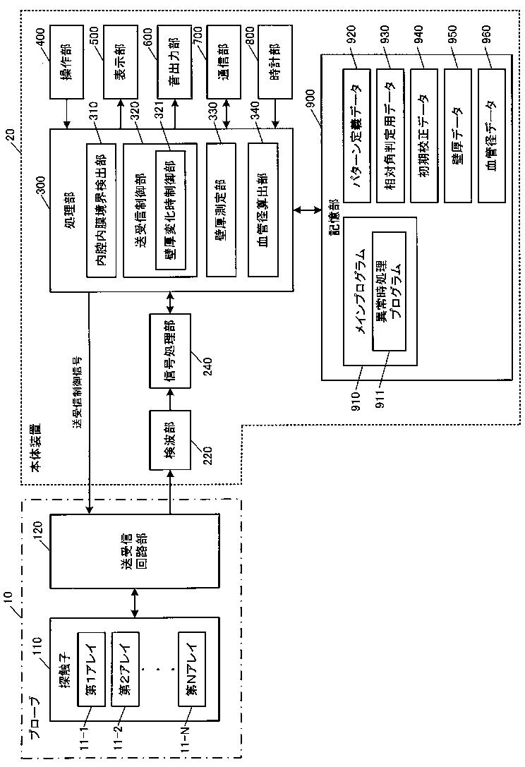
超音波測定装置及び超音波測定装置の制御方法
授权日
1900-01-01
公开(公告)号
JP2013106873A
申请日
2011-11-24
公开(公告)日
2013-06-06
当前申请(专利权)人
セイコーエプソン株式会社
发明人
真野 知典
简单同族
JP2013106873A | JP5867010B2
简单同族成员数量
2
简单同族被引用专利总数
0
诉讼案件数
0
法律状态/事件
未缴年费 | 权利转移
抱歉,您的浏览器不支持PDF预览,请点击链接下载PDF文件