专利数据库
统计分析
产业报告
专利数据监控
产业人才
行业动态
产业政策法规
维权援助
个人中心
详情
文本
图像
标题
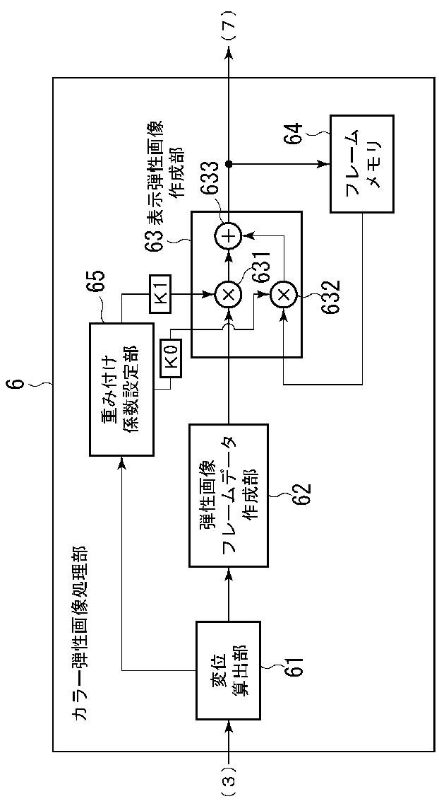
超音波診断装置
授权日
2014-10-31
公开(公告)号
JP5638190B2
申请日
2008-10-27
公开(公告)日
2014-12-10
当前申请(专利权)人
ジーイー·メディカル·システムズ·グローバル·テクノロジー·カンパニー·エルエルシー
发明人
谷川 俊一郎
简单同族
JP2010099378A | JP5638190B2
简单同族成员数量
2
简单同族被引用专利总数
23
诉讼案件数
0
法律状态/事件
授权
抱歉,您的浏览器不支持PDF预览,请点击链接下载PDF文件