专利数据库
统计分析
产业报告
专利数据监控
产业人才
行业动态
产业政策法规
维权援助
个人中心
详情
文本
图像
标题
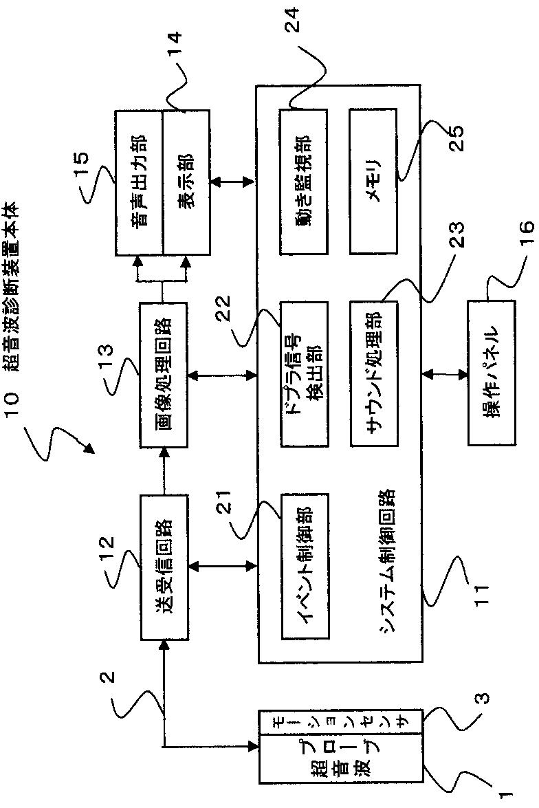
超音波診断装置
授权日
2012-03-09
公开(公告)号
JP4945326B2
申请日
2007-06-01
公开(公告)日
2012-06-06
当前申请(专利权)人
株式会社東芝 | 東芝メディカルシステムズ株式会社 | 東芝医用システムエンジニアリング株式会社
发明人
佐々木 揚
简单同族
JP2008295859A | JP4945326B2
简单同族成员数量
2
简单同族被引用专利总数
20
诉讼案件数
0
法律状态/事件
授权 | 权利转移
抱歉,您的浏览器不支持PDF预览,请点击链接下载PDF文件