专利数据库
统计分析
产业报告
专利数据监控
产业人才
行业动态
产业政策法规
维权援助
个人中心
详情
文本
图像
标题
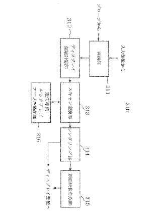
超音波断面映像改善装置及び方法
授权日
1900-01-01
公开(公告)号
JP2006116316A
申请日
2005-10-21
公开(公告)日
2006-05-11
当前申请(专利权)人
三星メディソン株式会社
发明人
イ ジェ グン
简单同族
EP1650707A2 | EP1650707A3 | JP2006116316A | JP4742304B2 | KR100697728B1 | KR1020060035295A | US20060100512A1
简单同族成员数量
7
简单同族被引用专利总数
20
诉讼案件数
0
法律状态/事件
授权
抱歉,您的浏览器不支持PDF预览,请点击链接下载PDF文件