专利数据库
统计分析
产业报告
专利数据监控
产业人才
行业动态
产业政策法规
维权援助
个人中心
详情
文本
图像
标题
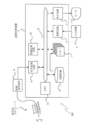
超音波画像診断装置
授权日
1900-01-01
公开(公告)号
JP2005334089A
申请日
2004-05-24
公开(公告)日
2005-12-08
当前申请(专利权)人
オリンパス株式会社
发明人
吉村 武浩
简单同族
CN100459941C | CN1956681A | JP2005334089A | JP4493402B2 | US20070167796A1 | US8292816 | WO2005112776A1
简单同族成员数量
7
简单同族被引用专利总数
18
诉讼案件数
0
法律状态/事件
授权 | 权利转移
抱歉,您的浏览器不支持PDF预览,请点击链接下载PDF文件