专利数据库
统计分析
产业报告
专利数据监控
产业人才
行业动态
产业政策法规
维权援助
个人中心
详情
文本
图像
标题
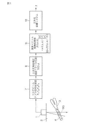
超音波診断装置及び超音波診断装置の音響出力方法
授权日
1900-01-01
公开(公告)号
JP2009028083A
申请日
2007-07-24
公开(公告)日
2009-02-12
当前申请(专利权)人
株式会社東芝 | 東芝メディカルシステムズ株式会社
发明人
馬場 達朗 | 神山 直久
简单同族
CN101357069A | CN101357069B | JP2009028083A | JP5214920B2 | US20090030321A1
简单同族成员数量
5
简单同族被引用专利总数
35
诉讼案件数
0
法律状态/事件
未缴年费 | 权利转移
抱歉,您的浏览器不支持PDF预览,请点击链接下载PDF文件