专利数据库
统计分析
产业报告
专利数据监控
产业人才
行业动态
产业政策法规
维权援助
个人中心
详情
文本
图像
标题
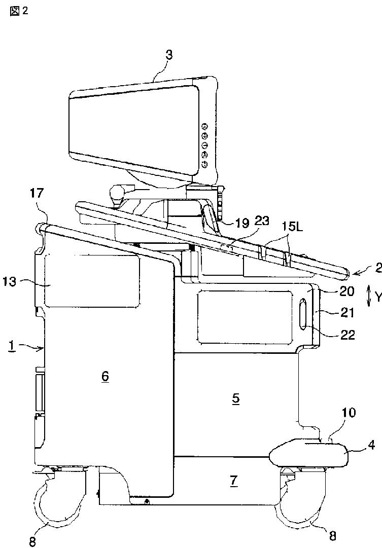
超音波診断装置
授权日
2011-03-25
公开(公告)号
JP4709590B2
申请日
2005-06-28
公开(公告)日
2011-06-22
当前申请(专利权)人
株式会社日立メディコ
发明人
伊藤 耕二 | 笠井 嘉 | 天野 好章
简单同族
JP2007006968A | JP4709590B2
简单同族成员数量
2
简单同族被引用专利总数
22
诉讼案件数
0
法律状态/事件
授权 | 权利转移
抱歉,您的浏览器不支持PDF预览,请点击链接下载PDF文件