专利数据库
统计分析
产业报告
专利数据监控
产业人才
行业动态
产业政策法规
维权援助
个人中心
详情
文本
图像
标题
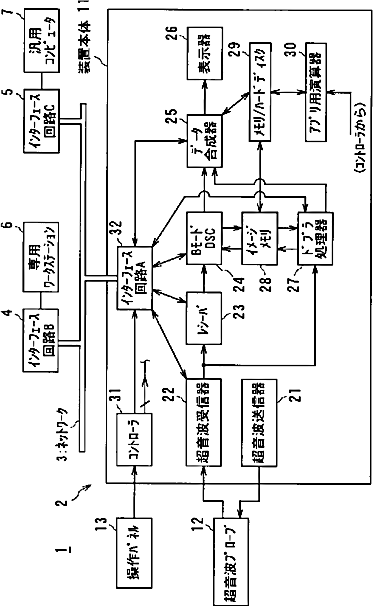
超音波診断の装置及びその方法、画像診断のシステム及びその方法、並びに課金方法
授权日
1900-01-01
公开(公告)号
JP2001258888A
申请日
2000-03-15
公开(公告)日
2001-09-25
当前申请(专利权)人
株式会社東芝
发明人
神山 直久 | 宮島 泰夫 | 橋本 新一 | 佐々木 琢也 | 吉江 剛
简单同族
JP2001258888A | JP4574785B2
简单同族成员数量
2
简单同族被引用专利总数
18
诉讼案件数
0
法律状态/事件
未缴年费
抱歉,您的浏览器不支持PDF预览,请点击链接下载PDF文件