专利数据库
统计分析
产业报告
专利数据监控
产业人才
行业动态
产业政策法规
维权援助
个人中心
详情
文本
图像
标题
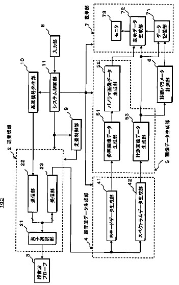
超音波診断装置及び診断パラメータ計測用制御プログラム
授权日
1900-01-01
公开(公告)号
JP2011010716A
申请日
2009-06-30
公开(公告)日
2011-01-20
当前申请(专利权)人
株式会社東芝 | 東芝メディカルシステムズ株式会社
发明人
松永 智史 | 中嶋 修 | 栗田 康一郎 | 小笠原 勝 | 田中 豪
简单同族
CN101933817A | CN101933817B | JP2011010716A | JP5596940B2 | US20100331693A1 | US9149249
简单同族成员数量
6
简单同族被引用专利总数
20
诉讼案件数
0
法律状态/事件
未缴年费 | 权利转移
抱歉,您的浏览器不支持PDF预览,请点击链接下载PDF文件